| 提交询价信息 |
| 发布紧急求购 |
价格:电议
所在地:江苏 淮安市
型号:
更新时间:2017-08-11
浏览次数:1128
公司地址:江苏金湖
![]()
李彬(先生)

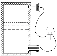
远传差压/压力变送器可避免被测介质直接和变送器的隔离膜片接触,这种测量方法适用于下述几种情况:
1、被测介质对变送器敏感元件有腐蚀作用
2、需要将高温被测介质与变送器隔离
3、被测介质中有固体悬浮物或高粘度介质
4、被测介质由引压管引同时易固化或结晶
5、更换被测介质需严格净化测量头
6、测量头必须保持卫生,严禁污染。
使用对象:腐蚀性或粘性的液体
注意:真空场合不宜采用远传变送器。

TX3851DP/GP差压/压力变送器的
●选型表
|
TX3851DP |
远传差压变送器 |
|||||
|
TX3851GP |
远传压力变送器 |
|||||
|
代码 |
量程范围KPa |
|||||
|
3 |
0-1.3~7.5 |
|||||
|
4 |
0-6.2~37.4 |
|||||
|
5 |
0-31.1~186.8 |
|||||
|
6 |
0-117~690 |
|||||
|
7 |
0-345~2068 |
|||||
|
8 |
0-117~690 |
|||||
|
代码 |
输出 |
|||||
|
E |
4-20mADC |
|||||
|
S |
智能式 |
|||||
|
代号 |
法兰材料 |
法兰材料 |
||||
|
22 |
316SST |
316SST |
||||
|
代号 |
附加功能 |
|||||
|
S1 |
一个远传装置 |
|||||
|
S2 |
二个远传装置 |
|||||
|
代码 |
选项 |
|||||
|
M1 |
0-线性指示表 |
|||||
|
M3 |
3位半LCD显示表 |
|||||
|
M4 |
智能表显示 |
|||||
|
B1 |
管装弯支架 |
|||||
|
B2 |
板装弯支架 |
|||||
|
B3 |
管装平支架 |
|||||
|
d |
隔爆型dⅡBT4 |
|||||
|
i |
本安型iaⅡCT6 |
|||||
江苏天翔仪表是重点测控工程成套单位,主营气体流量计、液体流量计、蒸汽流量计等相关系列产品,公司拥有一批长期从事自动化控制研究的设计、研制、安装调试的专业高科技人才,为各行各业提供了满意的成套系统。
欢迎您选购江苏天翔仪表系列产品,我公司产品若出现非人为损坏质量问题,从出厂之日起一年内实行三包,三包期外提供终身维修服务。为实现伟大的梦,天翔仪表与您携手一起奋斗!
免责声明:以上所展示的[ 双法兰差压液位变送器]信息由会员[金湖天翔仪表有限公司]自行提供,内容的真实性、准确性和合法性由发布会员负责。