提交询价信息
发布紧急求购
您好,欢迎来到给览网!手机版|本站服务|添加收藏|帮助中心
您所在的位置: 给览网 » 供应 » 行业专用仪器 » 泵阀类 » 真空泵 » SK型 SK型水环真空泵

SK型 SK型水环真空泵

温州市威王泵阀制造有限公司
会员指数: 企业认证:

价格:电议

所在地:浙江 温州市

型号:SK型

更新时间:2021-06-25

浏览次数:1794

公司地址:浙江省永嘉县瓯北镇五星工业区

朱宝 (先生) 经理 

产品简介

一、SK型水环真空泵的用途及使用范围:SK型水环真空泵及压缩机是用来抽吸或压送气体和其它无腐蚀性、不溶于水、不含有固体颗粒的气

公司简介


温州市威王泵阀制造有限公司(原永嘉县高盾泵阀厂)座落在风景秀丽的中国泵阀之乡——温州瓯北,与市区隔江相望,甬台温、金丽温高速贯穿市中心;到火车站仅需20分钟车程,至机场不到1小时,交通十分便利,资讯发达。企业自成立以来,充分的利用区域性专业集群优势,大力开发科技创新,迅速发展壮大,在强手如林的泵阀世界占据了一席之地。
  我公司主要生产产品:管道泵,离心泵,排污泵,隔膜泵,化工泵,消防泵,潜水泵,热水泵,气动隔膜泵,电动隔膜泵,不锈钢离心泵,不锈钢化工泵,不锈钢管道泵,管道离心泵,单级离心泵,油泵,清水泵,液下泵,多级泵,磁力泵,螺杆泵,真空泵,磁力泵,污水泵,泥浆泵,浓浆泵,成套供水设备等产品已广泛应用于石油、化工、电力、食品、医药、造纸、冶金、能源、楼宇、市政工程、污水处理、环保、给排水等各个领域。公司还根据用户需求开发设计有特殊要求的产品,同时为用户提供技术咨询并解决相关的问题。
  公司一直奉行“以质量求生存,靠科技求发展”的宗旨。在实施全面质量管理的基础上,以精良的工艺装备,先进合理的设计,专业化的生产,外观与内在并重的质量理念和用户至上的服务意识,及具有竞争力的成本,为您提供高品质且不断改进的产品及优质服务,诚邀中外客商、各界用户和友仁前来考察、洽谈贸易,愿与您在成功的道路上携手并进,共谱凯歌.

展开

产品说明


一、SK型水环真空泵的用途及使用范围:

SK型水环真空泵及压缩机是用来抽吸或压送气体和其它无腐蚀性、不溶于水、不含有固体颗粒的气体,以便在密闭容器中形成真空或压力,满足工艺流程要求。吸入或压送的气体中允许混有少量的液体。
SK型水环真空泵及压缩机广泛应用于机械、石油、化工、制药、陶瓷、制糖、印染、冶金及电子等行业。
由于在工作过程中,SK型水环真空泵对气体的压缩是在等温状态下进行的,因此在压送或抽吸易燃、易爆气体时,不易发生危险,所以在其应用更加广泛。

二、SK型水环真空泵的工作原理:

SK型水环真空泵如图(1)所示,叶轮3偏心地安装在SK型水环真空泵体2内,因此当叶轮3旋转时,水受离心力的作用而在SK型水环真空泵体内壁形成一旋转水环5,水环上部内表面与轮毂相切沿箭头方向旋转,在前半转过程中,水环内表面逐渐与轮毂脱离,因此在叶轮叶片间与水环形成封闭空间,随着叶轮的旋转,该空间逐渐扩大,空间气体压力降低,气体被及入空间;在后半转过程中,水环内表面渐渐与轮毂靠近,叶片间的空间逐渐缩小,空间气体压力升高,高于排气口时,叶片间的气体被排出。如此叶轮每转动一周,叶片间的空间吸排一次,许多空间不停地工作,SK型水环式真空泵就连续不断地抽吸或压送气体。
SK型水环真空泵由于在工作过程中,做功产生热量,会使工作水环发热,同时一部分水和气体一起被排走,因此,在工作过程中,必须不断地给泵供水,以冷却和补充泵内消耗的水,满足泵的工作要求。
SK型水环真空泵排出的气体不再利用时,在泵排气一端接有气水分离器(可自己制作一水箱代替),废水和所带的部分水排入气水分离器后,气水分离,气体由排气管排出,留下的水经回水管供至泵内继续使用。随着工作时间的延长,工作水温度会不断地升高,这时需从气水分离器供水处供给一定的冷水(自来水),以降低工作水的温度,保证泵能达到所要求的技术要求和指标。



                    图1               图2
1.端盖 2. 泵体 3.叶轮 4.排气孔 5.水环 6.吸气孔
a.橡胶球孔 b.泵体 c.排气管 d吸气管 e吸气孔 f 进水

   当 SK型水环真空泵作为压缩机使用时,泵排气口接有气水分离器,气水混合物进入气水分离器后自动分离,气体由排气管输送到所需系统而工作水经过自动溢于开关放出,压缩气体时,工作水易发热,水由SK型水环真空泵出口排出,温度会变得较高,因此在气水分离器的底部,要不断地供给冷水,以补充被放走的热水,同时起冷却作用,使工作水温度不致过高,从而保证压缩机性能,达到技术指标,满足工艺要求。
 





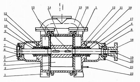
1.端盖 2.排气园盘 3.后轴承架 4.轴承 5.后轴承城市盖 6.轴 7.园螺母 8. 后轴套
9. 填料压盖 10.填料压圈 11.填料 12.平键 13. 叶轮 14.泵体 15.吸气园盘 16.前轴套 17.前轴承架 18.前轴承压盖 19.平键 20.联轴器 21.进水管

图4 SK-1.5/3水环真空泵结构图


          1.端盖 2.后吸排气园盘 3.叶轮 4.轴承架 5.园螺母 6.后轴承压盖 7.轴 8.轴承
9. 后轴套10.填料压圈 11.填料 12.填料压圈 13.平键 14.泵体 15.连通管 16.前吸排气园盘 17.前轴套 18.联轴器具 19.平键 20.园螺母 21.前轴承压盖

图4 SK-6/12/20/30/42/60/85/120水环泵结构图

三、SK型水环真空泵的结构说明:

SK型水环真空泵的结构如图2、图3、图4所示。
SK型水环真空泵由泵体、两个端盖、叶轮、轴等部件组成。进气管和排气管通过安装在端盖上的园盘上的吸气孔和排气孔与泵腔相连,轴偏心地安装在泵体中,叶轮用平键固定在轴上。SK水环真空泵两端面的总间隙由泵体和园盘之间的垫来调整,叶轮与端盖上的园盘之间的间隙由轴套(SK-1.5/3/6)或背帽(SK-12/20/30)推动叶轮来调整,而SK-42以上轴与叶轮为过盈配合,此间隙由前端定位时确定,SK-42/60/85/120无轴套,其余结构与SK-6/12/20/30相同。SK水环真空泵叶轮两端面与端盖园盘的间隙决定气体在泵腔内由进气口至排气口流动中损失的大小及限压力。
SK水环真空泵填料安装在两端盖内,密封不经由端盖中的小孔进入填料中,冷却填料及加强密封效果。叶轮形成水环所需的补充水由供水管供给,供水管可与气水分离器连在一起循环供水。
SK水环真空泵密封形式采用机械密封,机械密封安装在填料空腔里,填料省略。填料压盖换成机械密封压盖,其余结构相同。
轴承由园螺母固定在轴上。
SK水环真空泵在端盖上安装有园盘,园盘上设有吸、排气孔和橡胶球阀。橡胶球阀的作用是当叶轮叶片间的气体压力达到排气压力时,在排气口以前就将气体排出,减少了因气体压力过大而消耗的功率,从而降低功率消耗。

四、SK型水环真空泵的主要技术参数:

型  号
吸气量(米3/分)
限真空
功率(千瓦)
转速
(转/分)
(r.p.m)
压缩机
压力
(兆帕)
Mpa
口  径
水耗量
(升/分)
i/min)
 
zui大
真空度为-450mmHg
mmHg
MPa
真空泵
压缩机
 
 
SK-1.5
1.5
1.35
-680
-0.091
3
4
1450
0-1
70
70
10~15
 
SK-3
3
2.8
-710
-0.093
5.5
7.5
1450
0-1
70
70
15~20
 
SK-6
6
5.4
-710
-0.093
11
15
1450
0-1
80
80
20~30
 
SK-9
9
8.1
-710
-0.093
15
22
970
0-1
80
80
30~40
 
SK-12
12
11
-710
-0.093
18.5
30
970
0-1
80
80
40~50
 
SK-15
15
13.5
-710
-0.093
30
45
970
0-1
80
80
50~60
 
SK-20
20
18
-710
-0.093
37
55
740
0-1
150
150
60~80
 
SK-30
30
28
-710
-0.093
55
75
740
0-1
150
150
70~100
 
SK-42
42
37.2
-710
-0.093
75
-
740
-
150
150
95~130
 
SK-60
60
54
-710
-0.093
95
-
590
-
250
250
140~180
 
SK-85
85
76.5
-710
-0.093
132
-
590
-
250
250
180~220
 
SK-120
120
110
-710
-0.093
185
-
590
-
300
300
220~260

注:SK水环式真空泵表中列数据在下列条件下得出:
1、 大气压力0.1013Mpa(760mmHg)
2、 进水温度15℃
3、 吸入空气温度20℃
4、 空气相对湿度70%
5、 性能允许偏差±10%

五、SK型水环真空泵的型号意义:

六、SK型水环真空泵的性能曲线:



七、SK型水环真空泵的设备安装:

1、SK水环真空泵和电机的安装
SK水环真空泵和压缩机在安装前,先用手转动一下联轴器,以证实泵内是否有卡信及其它损坏现象。整套设备运抵安装地点时,包装已损坏或在存放时受潮湿,以及SK水环式真空泵在出厂后六个月再行安装使用时,应在安装胶全部拆开检查修理。如果SK水环式真空泵或压缩机运转正常,将泵安装在泵座上。电动机固定在泵座上以前,应校正电动机轴与泵轴的同心度,因为电动机与泵轴即使是小的倾斜也会引起轴承发热和零件的严重磨损等后果。将直尺平行放在联轴器上,在整个圆周的任何位置都与联轴器圆周密合没有间隙,且联轴器的轴向间隙都相等时,则达到了所要求的同心度(图六)。
2、SK水环真空泵气水分离器的安装;
气水分离器根据外形图安装在地基上。若有必要改变安装位置时,应注意分离器与SK水环式真空泵的连接管路不得过长,转变不得过急,否则气水混合物在管路中流动损失必将增加,增大了排气阻力,会因此降低流量和真空度,增加功率消耗。气水分离器的进气口法兰与泵排气口法兰之间由弯管连接,气水分离器底部,有一管路与泵相连,由此供给泵正常工作所需水量,供水量大小由管路上的阀门调节,气水分离器另有一管路,管路上装阀门,消耗的工作水由此补充。
3、SK水环真空泵与气水分离器间管路安装:
SK型水环真空泵或压缩机的排气管与气水分离器的进气管相连,当作为压缩机使用时,气水分离器的排气管与利用压缩气体的系统相连,一般情况下,要求管路不得过长,转变不得过急。当作SK型水环式真空泵用时,气体由气水分离器的排气口排至大气,若为改善工作环境,可将气体通过管路排至工作地点以外。管路法兰盘连接处,应用垫片使其可靠密合,尤其是泵的进气管路稍有不严密之处,就不能达到预定的真空度。SK型水环真空泵或压缩机的进气管上应装有库阀,以便在停车时,先行关闭,防止真空泵或压缩机内的水在排气管方面的压力作用下返回系统。为方便工作,在进气口与阀门之间安装一只真空表,以便随时检查真空的工作情况是否正常。当作为压缩机使用时,应在气水分离器的排气管路上安装闸阀,(为单向阀以保证发和异常情况时,不致使气体返回,以致使工作水返回系统之),在排气管和阀门之间安装一只压力表,可随时检查压送气体是否达到所需压力。
另外注意:管路应加装细网过滤装置,(其孔眼不大于0.5mm)防止杂物进入泵内,对泵产生损坏。
4、SK型水环真空泵调节结构:
SK型水环真空泵是用安装在进气管路上的阀门来调整真空度和流量。阀门以任何一种形式,安装在排气管路上,以便调节被压送气体的压力。被压缩气体根据其使用条件不许将其排出时,应在进气管对排气管之间装一导气管,其直径与装在其上的阀门直径相同,以便在很大限度内调节气量。

八、SK型水环真空泵的启动及停车:

1、SK型水环真空泵启动:
SK型水环真空泵长期停车的泵在开动以前,必用手转动数周,以证实泵内没有卡信或其它损坏现象。启动按以下顺序进行(参见图5);
(1)关闭进气管路上的闸阀4;
(2)启动电动机(从传动方向看,电机为顺时针方向旋转,右侧为吸气口,左侧为排气口)。泵为机械密封,应先给机械密封加水再起动电动机。
(3)打开供水管上的阀门6(或直接用自来水向泵内供水),逐渐增加供水量,至供水量符合规定要求为止。
(4)当SK型水环式真空泵达限真空或zui大压力时,打开进气管路上的闸阀2,SK型水环式真空泵开始正常工作;
(5)调整填料压盖,使水成滴往外滴为好。
(6)由阀门来调整气水分离器向泵供水量,以便在要求的技术条件下运转,使功率消耗量小,达到性能指标,满足工作要求。


本页产品地址:http://www.geilan.com/sell/show-1020495.html
免责声明:以上所展示的[SK型 SK型水环真空泵]信息由会员[温州市威王泵阀制造有限公司]自行提供,内容的真实性、准确性和合法性由发布会员负责。
[给览网]对此不承担任何责任。
友情提醒:为规避购买风险,建议您在购买相关产品前务必确认供应商资质及产品质量!

发布询价单

您最近浏览过的产品

没有合适的产品?是否在线询价?
询价标题
联系人
电话
主要内容
验证码