提交询价信息
发布紧急求购
您好,欢迎来到给览网!手机版|本站服务|添加收藏|帮助中心
您所在的位置: 给览网 » 供应 » 行业专用仪器 » 泵阀类 » 真空泵 » SK型 SK型直联水环真空泵

SK型 SK型直联水环真空泵

温州市威王泵阀制造有限公司
会员指数: 企业认证:

价格:电议

所在地:浙江 温州市

型号:SK型

更新时间:2021-06-25

浏览次数:1799

公司地址:浙江省永嘉县瓯北镇五星工业区

朱宝 (先生) 经理 

产品简介

一、SK型直联水环真空泵的用途及使用范围:  SK型直联水环真空泵SK-0.4、SK-0.8 、SK-1.0 、SK-1.5B型水环泵是用来抽吸空气和其

公司简介


温州市威王泵阀制造有限公司(原永嘉县高盾泵阀厂)座落在风景秀丽的中国泵阀之乡——温州瓯北,与市区隔江相望,甬台温、金丽温高速贯穿市中心;到火车站仅需20分钟车程,至机场不到1小时,交通十分便利,资讯发达。企业自成立以来,充分的利用区域性专业集群优势,大力开发科技创新,迅速发展壮大,在强手如林的泵阀世界占据了一席之地。
  我公司主要生产产品:管道泵,离心泵,排污泵,隔膜泵,化工泵,消防泵,潜水泵,热水泵,气动隔膜泵,电动隔膜泵,不锈钢离心泵,不锈钢化工泵,不锈钢管道泵,管道离心泵,单级离心泵,油泵,清水泵,液下泵,多级泵,磁力泵,螺杆泵,真空泵,磁力泵,污水泵,泥浆泵,浓浆泵,成套供水设备等产品已广泛应用于石油、化工、电力、食品、医药、造纸、冶金、能源、楼宇、市政工程、污水处理、环保、给排水等各个领域。公司还根据用户需求开发设计有特殊要求的产品,同时为用户提供技术咨询并解决相关的问题。
  公司一直奉行“以质量求生存,靠科技求发展”的宗旨。在实施全面质量管理的基础上,以精良的工艺装备,先进合理的设计,专业化的生产,外观与内在并重的质量理念和用户至上的服务意识,及具有竞争力的成本,为您提供高品质且不断改进的产品及优质服务,诚邀中外客商、各界用户和友仁前来考察、洽谈贸易,愿与您在成功的道路上携手并进,共谱凯歌.

展开

产品说明


一、SK型直联水环真空泵的用途及使用范围:

  SK型直联水环真空泵SK-0.4、SK-0.8 、SK-1.0 、SK-1.5B型水环泵是用来抽吸空气和其它无腐蚀性、不溶于水、不含有固体颗粒的气体,以便在密闭容器中形成真空。吸入气体中允许含有少量液体。
  SK型直联水环真空泵广泛用于机械、石油、化工、制药、食品、陶瓷印染、冶金等行业,还特别适合作大型水泵引水用。
由于在工作过程中,气体的压缩是等温的,在抽吸具有腐蚀性、易燃、易爆的气体时,不易发生危险,所以其应用更加广泛。

二、SK型直联水环真空泵的工作原理:


  SK型直联水环真空泵为悬臂式结构,如图一所示、叶轮(1)偏心的装在泵体(2)内,因此当叶轮旋转时,水受离心力的作用,在泵壁上形成一旋转水环(3),水环上部与轮毂相切,沿箭头方向旋转,在前半转的过程中,水环内表面逐渐与轮离,因此在叶轮片间形成空间并逐渐扩大,这样就从吸气口吸入气体,在后半转的过程中,水环内表面逐渐与轮毂靠近,叶片间的空间体积逐渐减小,叶片间的气体被压缩而排出。
  如此,叶轮每旋转一周,叶片间的空间积就改变一次,每个叶片间的水便活塞一样往复一次,SK型直联水环真空泵就连续不断的抽吸气体。
由于在工作中,水会发热,同时一部分水和气体一块排起,所以泵在工作中,必须不断的供给冷水,以冷却和补充泵内消耗的水。
当泵排出的气体是废气时,在排气端可接一水箱,废气和带出的一部分水排入水箱后,气体再由水箱的排气管排出,而水就落入水箱的底部经回水管再回到泵内使用。如果水循环时间长了水便发热,这时再从水箱供水处供给一定能量的冷水。

三、SK型直联水环真空泵的主要技术数据:

型号

zui大气量

M3/MIN
 

真空度450MMHG

时气量M3/MIN

限真空
MMHG
转速
R.P.M
电机功率
KW
水耗量
L/MIN
SK-0.15 0.15 0.10 700 2860 0.75 1-3
SK-0.4 0.4 0.36 700 2860 1.5 1-3
SK-0.8 0.8 0.75 700 2860 2.2 3-5
SK-1.0 1.0 1.0 700 2860 2.2 3-5
SK-1.5B 1.5 1.35 700 2860 3.0 5-10

注:SK型直联水环真空泵表中列数据在下列条件下得出:
  1、大气压力0.1013Mpa(760mmHg)
  2、进水温度15℃
  3、吸入空气温度20℃
  4、空气相对湿度70%
  5、性能允许偏差±10%

四、SK型直联水环真空泵的性能曲线:

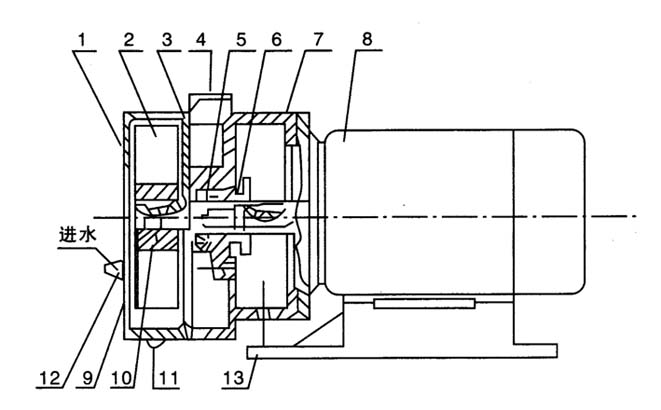
SK型直联水环真空泵的结构说明

 泵的结构如图二所示:主要是由泵盖、叶轮、泵体组成,泵体上部有进排气口法兰,轴偏心装在泵体内,叶轮用平键固定于轴上,叶轮与泵盖及圆盘间的间隙,用泵体和圆盘之间间的垫子来调整,此间隙决定气体在泵内由进气口至排气口流动中损失的大小。
填料装在泵体内,密封水经泵体上的针孔流入填料中,叶轮形成水环所需的补充水经由泵体上的弯头供给,它可与自来水或汽水分离器联在一起,供给循环水。
在圆盘上排气孔下面有几行圆孔,用橡皮球阀关闭,这些孔的作用是当叶片间气体压力达到排气力时,在排气口之前就将气体自动放出,因此减少因气体压力过大而消耗功率。

六、SK型直联水环真空泵的汽水分离器及安装说明


(1)用胶管或塑料管将水咀(见图二中12)与自来水连接进行供水,并在此供水管路上安装水阀调节水量。(供水量的大小对其性能有直接的影响)
(2)真空泵用来作水泵引水用时,应将吸气口联接在水泵的排水口与管路阀门之间。
(3)从电机端看泵为逆时针旋转。(左边为吸气口,右边为排气)。SK-1.5B为顺时针旋转。
(4)真空泵吸气管道不可有漏气现象,其地基尺寸以安装图或以实物测量进行安装。
(5)若安装汽水分离器,可参看图四。

七、SK型直联水环真空泵的使用维护说明

1、真空泵启动前,须检查电机旋转方向是否与泵的旋转方向相符。启动真空泵后,再调节进水量的大小,然后检查填料压紧是否适当 (填料正常压紧是能够使泵中的水成滴的向外漏出),SK-1.5B应先加水再启动真空泵,再调节进水量的大小,轴承运转润滑是否正常。
2、真空泵启动以后,须观察是否有振动,细听泵内是否有杂声,并测定填料函和轴承温度(正常轴承温度不得比环境温度高出35℃,工作温度不得高于70℃)若温度超高,应立即停车检查原因。
3、真空泵作为水泵真空引水用时,其运转期间将水泵内的空气全部吸出,直到水泵内吸出水来以后,即开动水泵,待水泵正常工作后将真空泵停车,并将吸气管路的阀门关闭。
4、真空泵停车顺序
(1)关闭进气管路上闸阀
(2)关闭供水管路上闸阀,停水后不宜立即停泵,应使泵继续运转1-2分钟排出部分工作液。机械密封应先停泵再停水。
(3)关闭电动机。
(4)如果停车时间超过一天,须将泵盖底部的螺塞打开,将泵体内水放净。
5、泵在下列条件下使用时,应加附属设备。
(1)被告抽除空气或气体中含有灰尘,必须在进气管上安装过滤器。
(2)被抽气体中含有大量蒸气时,必须在进气管上安装冷凝器。
(3)抽除带有腐蚀性气体时,在进入泵前必须进行中和。
(4)被抽气体的温度超过35℃时,在进入泵前必须经过冷凝装置,以保证温度不超过35℃。
(5)被抽气体中含有大量液体时,必须在进气管前装汽水分离器。
(6)泵的起动电流往往是电机额定电流几倍,必须配用起动开关。
注:①本单位产品随技术改进等原因,不经预告可变更。
②本单位产品在保修期内不经本单位允许,不得随意拆卸。

八、SK型直联水环真空泵的起动及停车:

(1)起动:
经过长期停车的泵在开动以前,必须用手转动联轴器数周,以便证实没有卡住或损伤现象。
1.关闭进气管上的闸阀(2)(图11)。
2.如果排气管上装有闸阀(9)也应将其关闭。
3.向填料函和气水分离器内注水。
4.当气水分离器往外溢水时,开动电动机。
5.全开由气水分离器向泵给水管路(6)上的球形阀(7)。
6.打开排气管上的闸阀(9)。
7.打开进气管上的闸阀(2)。
8.用球形阀(7)调整由气水分离器向泵送水的水量,以便在所要求的技术条件下下运转,使功率功耗zui小。
9.调整由进水管(5)向气水分离器的送水量,以便用zui小的水量消耗,保证泵所要求的技术规范。
10.调整向填料函的送水量,以便用zui小的水量消耗保证填料函的密封性,真空泵在限真空度下工作时,由于泵内产生
物理作用而产生爆炸声,但功 率消耗量并不增大。
随着功率消耗的提高而产生的爆炸声,表示泵发生了毛病,此时泵应停车。
(2)停车,车按以顺序:
1.关闭进气管上的闸阀(2)(图11)。
2.关闭排气管上闸阀(9)。
3.关闭电动机。
4.停止向填料、气水分离器内注水。
5.当气不分离器溢水管停止向外溢水后,关闭向泵注水管路。
6.上紧球形阀。
7.如泵停车时,必须拧开泵及气水分离器上的管堵把水放净。

SK型直联水环真空泵的维护

1.应定期的压紧填料,如填料因磨损而不能保证所需要的密封性时,应换新填料,填料不能压的过紧,正常压紧的填料允许水成滴漏出,其量不得太多,应用油浸的石棉绳作填料。
2.经常检查滚球轴承的工作和润滑情况。
3.正常工作的滚动轴承,其温度比周围温度高15℃~20℃,zui高不允许超过55℃~60℃,正常工作的轴承每年应装油3~4次。每年至少清洗轴承一次,并将润滑油全部更换。


本页产品地址:http://www.geilan.com/sell/show-1020491.html
免责声明:以上所展示的[SK型 SK型直联水环真空泵]信息由会员[温州市威王泵阀制造有限公司]自行提供,内容的真实性、准确性和合法性由发布会员负责。
[给览网]对此不承担任何责任。
友情提醒:为规避购买风险,建议您在购买相关产品前务必确认供应商资质及产品质量!

发布询价单

您最近浏览过的产品

没有合适的产品?是否在线询价?
询价标题
联系人
电话
主要内容
验证码