| 提交询价信息 | 
| 发布紧急求购 | 
 
        
                       
                       
                  价格:电议
所在地:上海
型号:上海三利给水设备有限公司
更新时间:2024-09-13
浏览次数:896
公司地址:上海市浦东新区

叶志通(先生) 经理
『上海三利给水设备有限公司』 客服24小时在线!
因市场鱼龙混杂,请擦亮双眼,我们是厂家!
排污泵主要包括:潜水排污泵|带切割污水提升泵|不锈钢排污泵|自吸式排污泵|无堵塞排污泵|家用潜水电泵|撕裂式排污泵|防爆潜污泵等,主要型号有QW、WQ、JYWQ、JPWQ、WQK/QG、AS/AV、GW、LW、ZW等系列。
三利·AS/AV型撕裂式潜水排污泵介绍:AS/AV型撕裂式潜水排污泵是在普通潜水排污泵的基础上增加了具有带撕裂功能的结构,采用双端面机械密封和旋转叶轮,增强了其无堵塞排污及耐磨的能力。能将污水中长纤维、袋、带、草、布条等物质撕裂、切断,然后顺利排放。适合于输送含有坚硬固体、纤维物的液体以及脏、粘、滑的液体。同时可配备自动控制及自动安装装置,使AS/AV型撕裂式潜水排污泵的组合更为优良,运行更为安全。主要用于排送生活废水、污水、人粪尿及含有短纤维纸屑、木屑、淀粉、泥沙、矿石粒等固体悬浮物和非腐蚀性介质。
三利·AS/AV型撕裂式潜水排污泵特点:a)、排污能力强,无堵塞,能有效地通过直径φ30-φ80毫米的固体颗粒。
b)、撕裂机构能够把纤维物质撕裂,切断,然后顺利排放,无需在泵上加滤网。
c)、设计合理,配套电机功率小,节能效果。
d)、新材料的机械密封,可以使泵安全连续运行在8000小时以上。
e)、结构紧凑,移动方便,安装简单,可减少工程造价,无需建造泵房。
f)、浮球开关可以根据所需的水位变化,自动控制启动与停止,不需专看管。
g)、双导轨自动安装系统,它给安装、维修带来了方便,人可不必为此而进出污水坑。
h)、配备全自动保护控制箱对产品的漏电、漏水以及过载等进行了有效保护,提高了安全性。
「 上海三利给水设备有限公司 」
- 一机在手,排污无烦恼
	诸多环境,一机搞定 -
 
■ 介质温度不超过60°C,介质密度为1.0~1.3×103 kg /m3,PH值在5~9范围内;
■ 电机部分露出水面不宜超过1/2;
■ 主要零件材料为铸铁,所以不能用于抽送高强度腐蚀性液体。
注:用户如有特殊要求(如介质腐蚀性高),可于订货时提出,以便提供材料的产品。
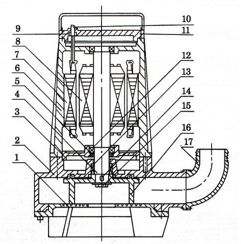
三利·AS/AV型撕裂式潜水排污泵结构图:|  | 1 | 底座 | 10 | 电缆 | 
| 2 | 泵体 | 11 | 上盖 | |
| 3 | 轴承体 | 12 | 轴承 | |
| 4 | 轴 | 13 | 机械密封 | |
| 5 | 唇型密封 | 14 | 平键 | |
| 6 | 电机壳 | 15 | 叶轮螺母 | |
| 7 | 定子铁芯 | 16 | 叶轮 | |
| 8 | 转子铁芯 | 17 | 弯管 | |
| 9 | 进线密封 | 
 | 

 
 
	
	关于『上 海 三 利 』
1、上海三利给水设备有限公司拥有技术力量和完备的检测设备,每台产品均按国家相关标准规定进行出厂检验,并建立产品档案;
2、可根据用户需要给予技术服务,协助用户安装调试、培训维修工;
3、可根据用户要求生产特殊规格(流量、扬程)或其它材质的泵;
4、负责供应配件,可根据用户要求代办托运。
	在水泵启动之前,应由一名合格的电工对该泵进行检查,下列下述各顶所要求的电器保护措施:
1、泵在运转前,应用0~500兆欧表检查电机相间及相对地绝缘电阻,应大于2MΩ。
2、电源装置应安全、正常。电源电压、频率应符合规定(电压为380V±5%,频率为50Hz±1%),且电压的瞬时超差不应超过10%。如果电源离水泵使用的距离较远时,电缆的截面积应加粗,接头应尽可能少些,否则会使电压下降太多,且应在电缆接头处作密封防水处理,以防漏电。
3、在四芯电缆中,带有符号"┴"者为接地线(一般为绿黄双色线或黑色线)为了安全使用,必须牢固接地,并比其它线长出50mm。
4、条件许可时,电器保护装置可包括:接地保护器,地面漏电断流器等,但是,在任何情况下,都必须装有和电泵额定电流值相符的慢熔熔断丝。
5、电器控制装置应防潮,井安装在防潮的区域,电缆的安放应注意不要使其堵在泵的吸入口处。
6、检查转子转动方向。在电泵初次启动或重新安装后都应检查转动方向,转动方向不正确运转会造成水泵效率降低,或造成叶轮脱落等损坏水泵事顶。为测定转子转动方向,在水泵-终安装之前,应举高并作点动运行,符合下列情况即转动方向正确,否则,应交换控制器上三相线中任意两根线的位置以改变转动方向。
a、从泵的顶部向下看,转子顺时针方向转动;
b、从底部向上看(即吸入口方向)可见叶片按逆时针方向转动。
注:如果几台泵连到同一个控制器上,则应单独检查。
☆. 对于AS/AV型撕裂式潜水排污泵因为需要输送的介质是一些含有固体物料的混合液体,这个问题使得在密封、电机承载能力、轴承布置及选用等方面的要求比一般的泵要高,因此在选型时,一定要了解清楚密封承载能力。
☆. 为了提高AS/AV型撕裂式潜水排污泵的寿命,现在大部分厂家都在泵的保护系统上想办法,即在泵发生泄漏、过载、超温等故障时能进行自动报警,并自动停机备修。
☆. 在设置保护系统,它能有效地保护电泵的安全运行。但这并不是问题的关键,保护系统只不过是在泵发生故障后的一种补救办法,是一种比较被动的办法。
三利·AS/AV型撕裂式潜水排污泵注意事项:正确安装使用是该泵长久,正常运转,提醒用户千万不可大意:
1. 决不允许用泵的电缆线起吊或悬挂水泵,在搬运或悬挂水泵时,可用带钩的链条钩在把手上或上盖的吊环上;
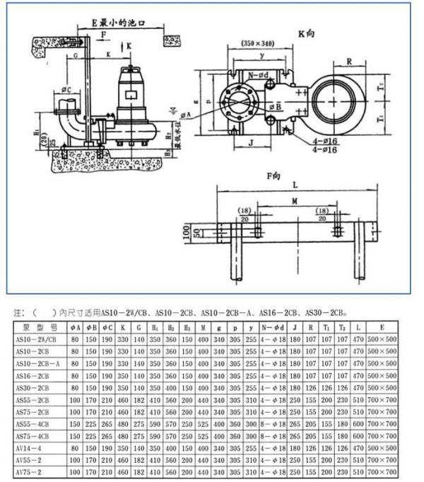
2. 在移动使用时,出水软管可用前面表格规定的标准软管接头,接在水泵的出水弯管上,固定使用时,可根据自耦装置的法兰标准设置管路;
3. 水泵不能放在污水的出口处,当水泵座放在泥地上或浮沙上吋,水泵由于震动,产生下陷,这时建议将水泵悬置起吊或放在一个较大的底板上;
4. 如果泵仍在继续运转,在0℃以下的气温时,可以继续使用,但如果停止不用时,则应将泵吊起清洗保管;
5. 出水管内径应符合规定的要求,但在输送距离较远时,也可适当减小內径但易引起堵塞,降低输送效率,不经济;
6. 在污水中使用的泵,经过长时间运转之后,在机壳的周围可能堆集泥浆等杂物,降低了传热的速度,使泵的内部温度上升,缩短电机的使用寿命,或造成无缘无故的跳闸,因此,每运转一定时段之后,应用软管对泵进行冲洗,保持其清洁;
7. 泵密封使用10#-30#机械油进行润滑冷却,由于密封磨损,润滑油会漏出,而输送介质也可能经过密封进入电机,这时请赶快将泵送至本厂修理部门或委托维修点更换密封,以免将水泵电机烧坏;
8. 未切电源时,不得移动水泵,不得在泵工作吋接触四周的水源,以防泵万一漏电,而又无地面漏电断流器装置时,造成触电事故;
9. 安装以后,不宜长期浸泡在水中不用,从而增加电机受潮的机会,同时建议每周至少运转4小时以检查其功能及适应性,否则,应提起放在干燥处备用。
三利·小提醒:________________________________________________________________________________________
小贴士1:切不可将电缆线起吊或悬挂水泵。
小贴士2:为延长水泵使用寿命,应定期加注或更换油室中机油(10#机油),提高机械密封的使用寿命。泵常规运行4000小时后,需对泵进行拆检,更换不宜再用的易损件。
小贴士3:客户配自动耦合装置时,导轨的长度(标准长度为3M)。
———————————————————————————
	如有任何疑问,请垂询『上海三利给水设备有限公司』一定会尽心尽力为您提供服务。
 
 
 免责声明:以上所展示的[上海三利给水设备有限公司 AS/AV型撕裂式潜水切割式排污泵,上海三利生产]信息由会员[上海三利给水设备有限公司]自行提供,内容的真实性、准确性和合法性由发布会员负责。
免责声明:以上所展示的[上海三利给水设备有限公司 AS/AV型撕裂式潜水切割式排污泵,上海三利生产]信息由会员[上海三利给水设备有限公司]自行提供,内容的真实性、准确性和合法性由发布会员负责。