| 提交询价信息 |
| 发布紧急求购 |
价格:电议
所在地:上海
型号:M104CL
更新时间:2023-06-19
浏览次数:802
公司地址:上海市奉贤区南桥镇南桥路377号1幢
![]()
王女士(女士)
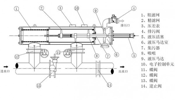
以色列AMIAD 阿米尔德M104CL型网式过滤器
Amiad过滤系统公司成立于1962年,长期以来在水过滤领域一直处于主导地位。从重工业及市政设备到耐用的家用园景过滤器,AMIAD已为超过70多个提供创造性的过滤解决方案,以满足他们对洁净水的需求。Amiad的水处理系统不仅仅是高新和可靠的,更重要的是它的环保性:无需添加化学制品、无需添加聚合物、zui小的清洗水消耗、减少能源需求-Amiad有很多产品甚至不需要外接电源。AMAID具有一系列完整的过滤解决方案:塑料、钢制、叠片及线盒;手动到全自动;过滤精度从3500微米到2微米——Amiad能为几乎所有的需求提供过滤解决方案。Amiad的过滤器已经应用在超过70多个,涵盖的领域有:农业及景区灌溉、水产业、工业水处理、工业废水处理、市政水处理(饮用水和废水处理)、用于保护昂贵的滤料及反渗透系统之前的预过滤。
型号 M104CL
技术参数
流量:100M³/小时(350美国加仑)
进/出口尺寸:4”
标准过滤度 500,300,200,130,100,80微米
工作压力 2公斤(30磅)较低压力
工作压力 8公斤(116磅)
工作温度 55°C(131°C)
产品特点:
1、适用于水质差,过滤水量高的场合
2、电力驱动旋转刷式清洗装置持久耐用
3、根据压差/定时进行自动清洗
4、低运行压力,可运行于1bar压力下
5、反清洗时系统不断流
6、可根据用户要求提供耐海水、防爆机型
7、应用:钢铁、化工、汽车、矿业、电厂、造纸、水厂及农业等产业的水源水、冷却水和过程水及旁滤、污水处理、海水谈化及膜前过滤等


免责声明:以上所展示的[M104CL 以色列AMIAD 阿米尔德M104CL型网式过滤器]信息由会员[上海成缓实业有限公司]自行提供,内容的真实性、准确性和合法性由发布会员负责。