提交询价信息
发布紧急求购
您好,欢迎来到给览网!手机版|本站服务|添加收藏|帮助中心
您所在的位置: 给览网 » 供应 » 工控仪表 » 其它工控仪表 » 全系列 西门子

全系列 西门子

上海邑斯设备科技有限公司
会员指数: 企业认证:

价格:电议

所在地:上海

型号:全系列

更新时间:2018-07-10

浏览次数:927

公司地址:上海市松江区文诚路2000弄60号

杜振彪(先生) 销售经理 

产品简介

西门子数控系统代理商,西门子工控代理商,西门子代理商凡在公司采购西门子产品,均可质保一年,假一罚十         以满足客户的需求为宗旨 ,  以诚为本  ,  精益求精

公司简介

SIEMENS 上海邑斯自动化科技有限公司 我公司经营西门子全新原装现货PLC;S7-200S7-300 S7-400 S7-1200 触摸屏,变频器,6FC,6SNS120 V10 V60 V80伺服数控备件:原装进口电机(1LA7、1LG4、1LA9、1LE1),国产电机(1LG0,1LE0)大型电机(1LA8,1LA4,1PQ8)伺服电机(1PH,1PM,1FT,1FK,1FS)西门子保内全新原装产品质保一年。一年内因产品质量问题免费更换新产品;不收取任何费。欢迎致电咨询。可编程控制器上海邑斯公司优势产品; PLC、触摸屏、变频器、电缆及通讯卡、数控系统、网络接头、伺服驱动、凡在公司采购西门子产品,均可质保一年,假一罚十 以满足客户的需求为宗旨.以诚为本.精益求精上海邑斯公司在经营活动中精益求精,具备如下业务优势: SIEMENS 可编程控制器   1、 SIMATIC S7 系列PLC:S7-200、S7-1200、S7-300、S7-400、ET-200   2、 逻辑控制模块 LOGO!230RC、230RCO、230RCL、24RC、24RCL等   3、 SITOP直流电源 24V DC 1.3A、2.5A、3A、5A、10A、20A、40A可并联. 4、HMI 触摸屏TD200 TD400C K-TP OP177 TP177,MP277 MP377, SIEMENS 交、直流传动装置   1、 交流变频器 MICROMASTER系列:MM420、MM430、MM440、G110、G120.         MIDASTER系列:MDV   2、全数字直流调速装置 6RA23、6RA24、6RA28、6RA70、6SE70系列 SIEMENS 数控 伺服 SINUMERIK:801、802S 、802D、802D SL、810D、840D、611U、S120 系统及伺报电机,力矩电机,直线电机,伺服驱动等备件销售。
展开

产品说明

西门子数控系统代理商,西门子工控代理商,西门子代理商
西门子数控系统代理商,西门子工控代理商,西门子代理商

一、控制系统说明

1.3 电气设备技术性能说明

我方提供全套满足本污水处理站电气系统运行和检修要求的电气设备,包括控制室GGD柜3套、就地按钮箱8套。业主在控制室内设置配电柜1只,用于对本系统进行供电,配电柜至GGD柜之间的电缆由业主提供。

采用需要系数法计算本污水处理站的用电符合,本污水处理站的总装机容量为66.43KW,运行功率为60.18KW。负荷计算如下表。

配电柜至GGD柜1#柜的总电源电缆规格为YJV-3*70+2×35mm2,数量1根(业主提供)。


二、电动机控制

2.1电动机控制中心



――主要元器件如空气开关(塑壳开关)、接触器、热继电器均采用正泰公司产品。

所有对外引接电缆均经过端子排,我方在控制柜内设置端子排,所有的端子缘材料必须是阻燃的。每个端子只连接一根外部导线,控制柜内部线路与端子排的连线也为每个端子为一根,多不超过二根。端子排竖直安装。端子排应留有20%的备用量。端子排中交流回路、直流回路、电流回路、电压回路、合闸回路、跳闸回路的端子间均应有空端子隔离。端子排的额定值不小于10A、600V,每个端子排都将按规范编号。

三、PLC控制系统部分

1 概述

随着计算机自动化控制技术的飞速发展,摆在人们面前的选择也越来越广泛,我们遵循简捷性、安全性、可靠性、实用性的原则,力争设计出适用的、的计算机自动化控制系统,减少工程的投资,降低维护开支,提高工程质量,使工厂以zui高的效率运行。

我们根据污水处理站的工艺特点,该自控系统结合了控制、可视化和网络的集成化体系结构,为各个流程提出了具体的控制方式,提供详细的按标书中确定的或图纸中标明的对设备和过程进行控制、监视和数据采集、数据管理的设备。

2 设计参照标准

我们选用的仪表、设备均通过了ISO9001质量体系认证为了保证系统的性、适用性和稳定性,系统进行设计、制造、测试和验收所遵循的质量标准、试验程序和规范均参照以下标准的新版本:

GB 中华人民共和国标准


3 职责范围

我们的职责包括提供该污水处理站工程自控系统和仪表设备等的成套供货,必要的备品备件,并负责应用软件的编制、设备的安装或指导安装、调试、人员培训、投运、试运行中的维护。

我们还将提供上述设备得以正常运行的供配电系统和接地系统设备、必要的信号转换设备及招标文件中规定的全部控制、电源和通讯电缆。


4 控制系统说明

 系统概述

本污水处理站工程自控系统采用“集中监控、管理,分散控制”的集散型系统,由中控室监控计算机及PLC构成全站实时控制系统,基本功能是提供数据采集,过程控制,报警指示,报警纪录,打印生产报表,并为生产操作人员提供操作画面,通过终端人机界面的彩色显示器能够显示所要求的工艺参数以及工艺设备的运行状态,通过终端人机画面,操作人员能够修改工艺参数的设定点,并能远程控制设备的启停。

对生产过程中出现的任何非正常状况,系统将通过声光报警的方式通知操作员。报警信息将通过报警打印机打印出来,同时也在CRT屏幕上显示,同时在系统存档以备将来查询。

4.2 系统构成

整个控制系统由两个层次构成:

4.2.1 中央监控站

中央监控站由一台中央监控计算机构成,是实现自动化监控的核心部分。该部分配一台打印机,用于打印报表、报警纪录和曲线趋势图。另外还配一台UPS不间断电源,用于厂区整个自控系统和现场仪表供电,确保自控系统不受外界的干扰。

此方式也可称之位远程手动,当现场控制柜上的手/自动转换开关处于自动位置,同时上位机监控画面上的控制方式处于点动状态,此时设备只受上位机(键盘或鼠标)的控制,该控制方式具有第二优先级。

4.3.3自动控制方式

当现场控制柜上的手/自动转换开关处于自动位置,同时上位机监控画面上的控制方式也处于自动状态,此时此时PLC会根据现场的工艺参数机设备的工况完成对设备的自动控制而无须人工干预,即真正意义上的自动控制。

4.4 本系统具有四大功能 

4.4.1数据采集和存储功能

系统可自动连续地检测并纪录显示出污水处理过程中各个工艺环节、各个时段的液位、溶解氧浓度、出水流量等生产数据,以及生产设备的运行工况等。对采集到的数据将保存1年,以备随时调阅。

4.4.2自动保护功能

PLC和上位机能对采集到的数据进行综合分析,从而判断出生产过程中有可能发生的事故,完成自动报警和主动采取预防措施,防止事故的发生和扩大,达到保护人身和设备的目的;

整个工艺流程画面包括1幅总画面和9幅分画面。

电动阀类的操作对话框如下图示:

水泵、搅拌机类的操作对话框如下图示:

工艺控制画面的操作对话框如下图示(例):


报警显示操作对话框如下图示(例):

实时趋势显示操作对话框如下图示(例):

4.7控制顺序的说明

当PLC接到开、停某一设备的指令后,PLC会先检测该设备的手/自动转换开关是否处于“自动”位置,以及与此相关的设备的选择开关是否也处于“自动”位置,如果不再,则PLC会马上给上位机发出一个回答信号“该设备不处于自动状态”,上位机显示此信息,同时PLC取消这次控制。只有选择开关设定的“自动”位置,(在上位机上可以很明显的看到),才能重发“集中控制”指令,PLC接到指令后会再去检测该设备是否处于“自动”位置,然后按预设顺序控制该设备的启停。在起停命令发出后,PLC会随时检测该设备的各类参数以保障该设备的安全运行。

4.8 故障预报警说明

PLC按“集中控制”或“自动控制”指令执行后,其输出口已有正确的信号输出,但设备端没有回答信号,同时PLC通过内部的延时继电器判断和根据相关工艺量的变化情况判断出该设备没有正确响应PLC的输出时,PLC会发出一个“无响应的报警”信号,由上位机在画面上弹出“新生故障窗口”,发出预报警。

5 主要自控设备技术性能描述:

S7-200PLC简介


进水提升泵与池内液位计联锁,根据调节池液位,当液面低于低液位时发出低液位报警信号同时停止所有泵的运行。当液面位高于高液位时,启动提升泵,当液面高于超高液位时,发出高位报警信号。

正常情况下,泵1用1备,当一台泵运行时间达到6小时时,自动切换至备用泵运行;当运行泵出现故障时,自动切换至备用泵运行。

每一台泵的启动次数和运行时间都将被记录,作为维修依据。

6. 2 例A反应池搅拌机控制流程图

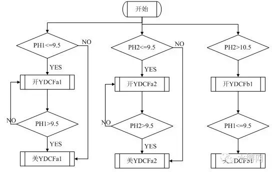
6.1.3 例PH控制控制流程图

7 设备安装及工作分界面:

7.1 工程划分:从控制电柜PLC输入、输出点至各设备位;

7.2 工程内容:

1)控制电柜、设备、仪表的订购及所需的原材料购置;

2)各设备至电控柜的控制回路及信号线敷设(多芯电缆及屏蔽电缆);

3)控制室电柜及现场设备和仪表的安装、调试;

4)控制电柜设有各路设备手动调试按键站并标识;

特点和用途:

CM-230型电导率监视能对纯水和一般水溶液的电导率值进行长时间连续测量和监视,采用开孔插入式安装,具有温漂自动补偿电路,确保了产品的测量精度,它广泛适用于离子交换,反渗透等制水设备原水和产水水质的电导率值测量、监视。

4.PH仪:


5.溶解氧仪:


6.5B-3B型  COD多参数水质测定仪

5B-3B(H)型是5B-3B型COD多参数测定仪的加强型,运用了新的电子技术彻底解决了开机时间过长对仪器稳定性的影响,对开机时间不再限制;将冷光源阵列技术应用到了多参数的测定中来,使光源灯的寿命由1000小时增加到10万小时,测定参数光路的切换由手动改为了自动切换,消除了人为转换的误差因素。

五、 电气部分现场安装施工方案

1 施工准备工作

项目工程师将先熟悉图纸和设备技术资料,进行图纸会审并查阅相关的规范和标准,向施工组作技术、质量和安全交底。

设备基础验收。按图纸尺寸检查基础的坐标位置和标高,然后依照设备说明书(或实测)核对预留孔或预埋件尺寸,均合格后才能进行实际安装。

地脚螺栓及垫铁的准备。按设计图纸和设计说明书等资料,对设备需用地脚螺栓及垫铁的,要进行设计,以满足安装要求。

2 设备二次搬运

对有包装箱的设备尽可能原封运到安装基础旁,运输过程中将根据包装箱指示确保设备正确放置。设备进厂房超过门的高度时,我公司将及时提出运装方案,特别是进口设备运输前仔细查阅说明书,以免对设备或建筑物等造成不必要的损坏。

3 仪表自控系统设备的安装

仪表自控系统的安装内容较多,而且一般在土建基本完工、工艺管道和设备安装达70%以上时仪表自控专业才能大面积展开工作。这时仪表安装工作需要与管道和其他专业立体交叉配合,施工期短,工作量大,技术含量高,这是仪表自控安装的特点,一般的安装程序是:

控制室盘、箱、柜安装及现场一次仪表的安装,控制室设备的基础槽钢制作安装,各种管、线槽进出位置的确定、预留孔洞、预埋件的检查,与有关专业配合。现场一次仪表的位置、部件安装和制作。

附件制作与桥架安装,自控仪表支架、附件、附属容器、扩大管、穿墙板、保温箱、保护箱的制作安装。

控制室设备配管、配线、校线、接线、现场电缆、补偿导线敷设、仪表一次调试,气动管线、拌热管线敷设、阀门安装与研磨等。

现场自控仪表就位安装,现场自控仪表与控制室设备的接线、校线。

进行回路系统试验和信号联系系统试验。配合工艺单体试运行转。

因此,本仪表自控系统设备的安装严格按照下述顺序进行检测安装;

所供设备到达现场后,我方派工程技术人员会同业主、监理单位等有关方面人员一起进行开箱检查,严格按照施工图纸及有关合同核对产品的型号、规格、铭牌参数、厂家、数量及产品合格证,双方共同作好检查记录,签字后作为设备验货依据。如发现问题,及时做好修理更换工作。

安装前认真消化施工图和设备的技术资料,对每件设备进行单体校验和性能检查,如耐压、缘、尺寸偏差,要及时采取措施,保证设备质量。

严格按照施工图、产品说明书及有关的技术标准进行设备安装。施工图纸不足时,根据现场施工的要求,补足必备的施工图纸。

仪表的安装应在工艺设备安装基本就序后进行,进场后先开展的工作应该是取源部件的安装,特别是工艺管道上的取源部件的安装(如取源接头、取压接头、流量测量元件)。这些取源点、取压点的安装位置都应满足设计要求,不影响工艺管道、设备的吹扫、冲洗及试压工作。由于仪表、计算机属于贵重的设备,在者现场施工专业多,人员复杂,因此应该注重仪表设备(传感器、变送器)、计算机系统的安全,选择恰当的安装时间在仪表设备整体安装前应作好准备工作。如配电缆保护管敷设,制作仪表安装保护支架,安装仪表保护箱。在工艺设备、土建专业的安装工作基本结束后,现场人员比较有序的情况下,即可进行仪表设备安装。

隐蔽工程、接地工程均认真做好施工及测试记录,接地埋设深度和接地电阻值必须严格遵从设计要求,接地线连接紧密,焊缝平整,防腐良好。每个单项工程完工之后,均按有关标准自检,及时做好施工测试、记录、资料归档及完善竣工图等工作,为工程验收做好准备。

计算机和PLC的安装,必须由专业技术人员实施,采取防静电措施,严格执行操作规程。

PLC模块安装完后,先离线检查所有电源是否正常。

离线检查PLC程序,逐一检查模块功能及通讯总线、站号、设定及其它控制功能。

检查DI、DO、AI、AO接口,检查各路各类信号是否正确传输。

上位机安装到位后,检查网络联接情况,上下位机之间的通讯情况及网络总线的安装及保护情况。

西门子数控系统代理商,西门子工控代理商,西门子代理商


本页产品地址:http://www.geilan.com/sell/show-7954235.html
免责声明:以上所展示的[全系列 西门子]信息由会员[上海邑斯设备科技有限公司]自行提供,内容的真实性、准确性和合法性由发布会员负责。
[给览网]对此不承担任何责任。
友情提醒:为规避购买风险,建议您在购买相关产品前务必确认供应商资质及产品质量!

发布询价单

没有合适的产品?是否在线询价?
询价标题
联系人
电话
主要内容
验证码