| 提交询价信息 |
| 发布紧急求购 |
价格:电议
所在地:江苏 淮安市
型号:MY- LZB/LZJ
更新时间:2019-04-29
浏览次数:1968
公司地址:江苏省金湖县塔集工业集中区长征路6号
![]()
宋小姐(先生) 销售经理
在互联网商务的时代浪潮中,铭宇公司专门成立了电子商务部,依靠专业的网络技术力量和电子商务贸易手段,实施对传统经济和资源的整合以及大范围快速的拓展市场。公司成立以来凭借良好的信誉及优质的服务已经与各地区的工业生产厂商建立了长期稳定的商业贸易伙伴关系。
铭宇公司坚持“与世界同步、与客户共赢”的企业宗旨,坚持“追求卓越、尽善尽美”的经营理念; 坚持“开拓、务实、规范、创新”的管理理念;充分尊重合作伙伴的价值,提倡开展精神文明建设活动,展现扩大员工价值,围绕构建和谐企业文化。
铭宇公司将以优质的产品、优惠的价格、优良的服务积极参与市场竞争,竭诚与各界朋友,新老客户诚信合作,共创辉煌。
玻璃转子流量计详细资料:
MY- LZB/LZJ系列玻璃转子流量计广泛应用于化工、石油、轻工、医药、环保、食品及计量测试、科学研究等部门,测量单相非脉动流体(液体或气体)的流量。
MY- LZB/( )F/LZJ-( )F系列耐腐玻璃转子流量计有较强的耐腐性能,可检测酸、碱、氧化剂和其它腐蚀性的气体或液体的流量,适用于化工、制药、造纸、污水处理等行业。
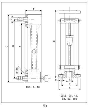
| 外形及安装尺寸 | |
|
|
|
原理与结构
流量计主要由一根自下而上扩大的锥形玻管和一只随流体流量大小上下移动的浮子组成(图3)。流体自下而上流经锥管时,流体动能在浮子上产生的升力S和流体的浮力A使浮子上升,当升力S与浮力A之和等于浮子自身重力G时,浮子处于平衡,稳定在某一高度位置上,锥管上的刻度指示流体的流量值。 |
|
|
LZB/LZB-( )F流量计的锥管为光滑内壁管(见图4),通径DN15以上的流量计,浮子通过导杆 上下移动,保持稳定;LZJ/LZJ-( )F流量计锥管 内壁有三条导向凸筋,使浮子保持稳定(见图4)。通径DN10以下的流量计采用软管连接,配有 针形流量调节阀;通径DN15以上流量计采用法兰连接。
|
|
接触测量流体的零部件材质 |

型号规格及技术参数
|
通径DN |
型 号 |
测量范围 |
椎管长度(m) |
精度等级 |
允许被测液体状态 |
|||
|
水20℃ |
空 气 |
LZB/LZJ |
LZB-()F |
温度(℃) |
压力 |
|||
|
2 |
LZB-2 |
0.4~4ml/min |
6~60ml/min |
160 |
1.5:2.5 |
2.5:4 |
-20~+120 |
≤0.4 |
|
3 |
LZB-3 |
2.5~25ml/min |
40~400ml/min |
|||||
|
4 |
LZB-4 |
(1~10)L/h |
(16~160)L/h |
|||||
|
6 |
LZB-6 |
(2.5~25)L/h |
(40~400)L/h |
|||||
|
10 |
LZB-10 |
(6~60)L/h |
(100~1000)L/h |
2.5 |
≤0.6 |
|||
|
15 |
LZB-15 |
(16~160)L/h |
(0.25~2.5)m³/h |
350 |
||||
|
25 |
LZB-25 |
(40~400)L/h |
(1~10)m³/h |
|||||
|
40 |
LZB-40 |
(160~1600)L/h |
(4~40)m³/h |
430 |
||||
|
50 |
LZB-50 |
(0.4~4)m³/h |
(10~100)m³/h |
450 |
||||
|
80 |
LZB-80 |
(1~10)m³/h |
(50~250)m³/h |
500 |
≤0.4 |
|||
|
100 |
LZB-100 |
(5~25)m³/h |
(120~600)m³/h |
|||||
全不锈钢型
法兰、浮子、导杆、支承板及螺栓等均为不锈钢304(1Cr18Ni9Ti),型号为LZB-( )B。
接液材质如需选用316,则型号为LZB-( )Bo,需定做。
如需不锈钢内衬PTFE,则型号为LZB-( )BF(或BoF),需定做。
全四氟型
基座、浮子、针阀采用聚四氟乙烯(PTTFE)。支承板、螺丝等采用不锈钢
免责声明:以上所展示的[MY- LZB/LZJ 玻璃转子流量计]信息由会员[江苏金湖铭宇自控设备有限公司]自行提供,内容的真实性、准确性和合法性由发布会员负责。