| 提交询价信息 |
| 发布紧急求购 |
价格:电议
所在地:江苏 淮安市
型号:RY-LZB
更新时间:2016-07-28
浏览次数:3168
公司地址:江苏金湖经济开发区同泰大道286号
![]()
周女士(女士)

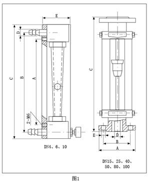
| 外形及安装尺寸 | |
![]() |
![]() |
|
原理与结构
|
|
![]() |
LZB/LZB-( )F流量计的锥管为光滑内壁管(见图4),通径DN15以上的流量计,浮子通过导杆 上下移动,保持稳定;LZJ/LZJ-( )F流量计锥管 内壁有三条导向凸筋,使浮子保持稳定(见图4)。 通径DN10以下的流量计采用软管连接,配有 针形流量调节阀;通径DN15以上流量计采用 法兰连接。
|
|
接触测量流体的零部件材质 |

型号规格及技术参数

全不锈钢型
法兰、浮子、导杆、支承板及螺栓等均为不锈钢304(1Cr18Ni9Ti),型号为LZB-( )B。
接液材质如需选用316,则型号为LZB-( )Bo,需定做。
如需不锈钢内衬PTFE,则型号为LZB-( )BF(或BoF),需定做。
全四氟型
|
基座、浮子、针阀采用聚四氟乙烯(PTTFE)。支承板、螺丝等采用不锈钢 |
免责声明:以上所展示的[RY-LZB 玻璃转子流量计 ]信息由会员[江苏润仪仪表有限公司]自行提供,内容的真实性、准确性和合法性由发布会员负责。