产品简介
HN-E双转子流量计(螺旋转子流量计)关键字:双转子流量计,螺旋转子流量计 一、概述
公司简介
金湖普升仪表科技有限公司创立于2006年,坐落于有荷文化之乡美誉的江苏省金湖县工业园区。是国家级高新技术企业、全国AAA级信用单位、江苏省名优企业、已通过ISO9001:2008国际质量体系认证。
公司专注于压力仪表、流量仪表、温度仪表、液位仪表、显示仪表、校验仪表等高性能仪器仪表的研发和制造,拥有一支高层次的研发团队并与多家高校院所结成战略联盟,研发体系健全完善,多次承担国家和省市科技项目。已取得八十余件发明和实用新型等专利,技术水平处于国内领先地位。
公司注重科技创新,拥有多项专利技术和江苏省高新技术产品。先后多次承担江苏省火炬计划项目、星火计划项目、重大科技支撑和自主创新项目、产业调整和振兴的重点支持项目以及科技部中小型企业创新基金项目。
多年来,我公司承蒙社会各界的大力支持,现已发展成为专业化仪器仪表生产的骨干企业。我公司还承缆为用户:设计、安装、调试、维护并拿出最佳方案,使用户投资少、见效快、工期短。承缆自动化仪表工程及OEM、非标订制、欢迎来图来样加工。公司视质量为生命,以信誉求生存,以科技促发展,以优质的品牌为用户服务,真诚地欢迎国内外朋友选用“普生”牌产品,更希望国内外仪器仪表界的同仁奋力合作,与时俱进,共同开发,同辉共荣!欢迎新老客户洽谈合作。
展开
产品说明
HN-E双转子流量计(螺旋转子流量计)
关键字:双转子流量计,螺旋转子流量计
.bmp)
| 一、概述 |
|
双转子流量计(以下简称流量计)是一种设计独特、经过精密加工装配的新型容积式双转子流量计。 一对螺旋转子是计量腔体内的运动体, 起到分割、测算、运送和排泄被测液体的作用。该型号流量计在结构上增加了定位齿轮,使两只转子间在转动时达到彼此互不接触。 该流量计工作时运转平稳、噪音低、磨损少、准确度高,粘度适应性强,可以允许被测液体中的微细颗粒通过, 从而不易卡表。 该流量计经过化学镀镍处理, 因此具有防腐、耐磨的特性,可代替不锈钢材质的双转子流量计。
该流量计的特点是:
适用于稀油、轻质油、稠油、含砂量大、含水量大的原油,被测量液体的粘度范围大。
流量计通过的液体流量大,zui大流量是同通径普通容积表的二倍左右。
使用寿命长,准确度高,可靠性强。
压内损失极小。
有线远传长距离为1000米,脉冲信号输出N=0.1L(一个脉冲为1N),可直接与计算机联网。
本安防爆IaⅡCT6(本质安全型);隔爆dⅡBT6(隔爆型);防护IP56。
|
| |
| 二、工作原理 |
|
如下图所示,该流量计通过一对回转的特殊螺旋转子,直接测量液体流量的容积。
双转子流量计对流体流量的测定是在计量腔体内完成的。一对螺旋转子在液体的压力下转动,转子与计量腔壁间形成的封闭空间(图阴影部分)每回转一次排出8倍阴影体积。因此根据这一关系,只要计量转子回转的次数,即可计算出流量累积量,根据每秒的转数,即可测出瞬时流量。
|
| |
| |
| 三、技术性能 |
公称通径及流量范围
公称通径及流量范围见表一 |
|
表一
|
|
公称
通径
mm
|
流量范围(m3/h)
|
|
0.3mpa.s
以下
|
0.3~2
mpa.s
|
2~5
mpa.s
|
5~15
mpa.s
|
15~50
mpa.s
|
50~400
mpa.s
|
400~1000
mpa.s
|
1000~1500
mpa.s
|
1500~2000
mpa.s
|
|
LPG
|
汽油
|
煤油
|
轻柴油
|
A重油
|
B重油
|
C重油
|
高 粘 度 液 体
|
|
8
|
0.04~0.4
|
0.04~0.4
|
0.04~0.4
|
0.04~0.4
|
0.03~0.3
|
0.03~0.3
|
0.03~0.3
|
0.03~0.3
|
|
15
|
0.25~2.5
|
0.25~2.5
|
0.25~2.5
|
0.3~3.0
|
0.3~3.0
|
0.3~3.0
|
0.3~3.0
|
0.25~1.5
|
|
25
|
0.6~6
|
0.6~6
|
0.6~6
|
0.6~6
|
0.6~6
|
0.6~6
|
0.6~6
|
0.5~5
|
0.5~4
|
0.5~3
|
|
40
|
5~20
|
4.5~20
|
4~20
|
3~20
|
2.5~20
|
2.5~20
|
2.5~20
|
2~13
|
2~12
|
2~10
|
|
50
|
6~30
|
5~30
|
5~30
|
4~30
|
4~30
|
4~30
|
3~30
|
2.5~25
|
2.5~20
|
2.5~15
|
|
80
|
30~80
|
20~80
|
15~80
|
12~~80
|
10~80
|
8~80
|
6~80
|
5~55
|
5~45
|
5~39
|
|
100
|
50~180
|
35~180
|
25~180
|
20~250
|
17~250
|
10~250
|
8.5~250
|
8.5~130
|
8.5~110
|
8.5~97
|
|
150
|
70~260
|
50~260
|
40~260
|
30~260
|
20~340
|
17~340
|
15~340
|
12~190
|
12~160
|
12~140
|
|
200
|
100~380
|
70~380
|
55~380
|
45~500
|
35~500
|
30~500
|
25~500
|
25~280
|
25~220
|
25~200
|
|
250
|
200~630
|
140~630
|
110~630
|
90~800
|
70~800
|
55~800
|
45~800
|
45~460
|
45~380
|
45~340
|
|
300
|
300~980
|
210~980
|
170~980
|
140~1100
|
110~1100
|
90~110
|
65~1100
|
65~720
|
65~590
|
65~520
|
|
注: 1.以上为准确度0.5级的流量计流量范围。
|
|
2.如准确度为0.2级的流量计,流量范围上限值不变,下限值按量程比1:5计算,如准确度为0.1级按1:3计算。
|
|
| |
| 四、外型尺寸 |
|
1.转子结构
|
 |
| |
|
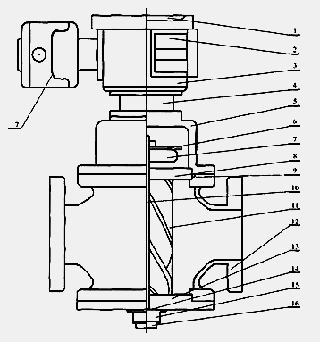
2.双转子变送器及智能表总体结构
|
|
 |
| |
A(上图)1.仪表盘2.电池3.二次表4.连接座5.U型帽6.发讯片7.定位齿轮8.上盖板9.O型环10.轴11.转子12.主体13.上盖板14.止推轴承15.调节螺钉16.底盖17.远传体
|
| |
B 双转子变送器外型尺寸见下表
|
项目
型号 |
公称压力
(Mpa) |
外形尺寸 |
法兰连接尺寸 |
螺栓 |
| |
L |
D |
H |
H1 |
D1 |
D2 |
D3 |
X |
Y |
h |
t |
t1 |
数量 |
螺纹 |
| UF-E80 |
1. 6, 2. 5 |
380 |
270 |
690 |
154 |
195 |
160 |
135 |
|
|
20 |
3 |
|
8 |
Ml 6 |
| 4. 0, 6. 4 |
380 |
270 |
690 |
154 |
220 |
172 |
140 |
127 |
128.6 |
30 |
7 |
5 |
8 |
M20 |
| 10, 16 |
|
|
|
|
|
|
|
|
|
|
|
|
|
|
| UF-E100 |
1. 6. 6.4 |
380 |
352 |
740 |
190 |
230 |
190 |
160 |
|
|
22 |
3 |
|
8 |
M20 |
| 4. 0, 6. 4 |
380 |
352 |
740 |
190 |
260 |
204 |
170 |
157 |
158.8 |
32 |
7 |
5 |
S |
M22 |
| 10, 16 |
|
|
|
|
|
|
|
|
|
|
|
|
|
|
| UF-E150 |
1. 6, 2. 5 |
560 |
420 |
840 |
220 |
300 |
250 |
218 |
|
|
27 |
3 |
|
8 |
M20 |
| 4. 0, 2. 4 |
560 |
420 |
840 |
220 |
330 |
280 |
228 |
216 |
217.5 |
38 |
7 |
5 |
1"' |
M24 |
| 10, 16 |
|
|
|
|
|
|
|
|
|
|
|
|
|
|
| UF-E200 |
1. 6, 2. 5 |
700 |
560 |
890 |
240 |
360 |
310 |
274 |
|
|
27 |
3 |
|
12 |
M24 |
| 4. 0, 6.4 |
700 |
560 |
890 |
240 |
375 |
320 |
284 |
258 |
259 |
34 |
7 |
5 |
12 |
M28 |
| 10, 16 |
|
|
|
|
|
|
|
|
|
|
|
|
|
|
| UF-E250 |
1. 6, 2. 5 |
1000 |
720 |
1 1 00 |
270 |
425 |
370 |
330 |
|
|
29 |
3 |
|
1"' |
M24 |
| 4. 0, 6.4 |
1000 |
720 |
1100 |
270 |
445 |
338 |
335 |
324 |
325.5 |
48 |
7 |
5 |
16 |
M28 |
| 10, 16 |
|
|
|
|
|
|
|
|
|
|
|
|
|
|
| UF-E300 |
1.6、2.5 |
1000 |
720 |
1230 |
400 |
485 |
430 |
390 |
|
|
30 |
4 |
|
1 '' |
M24 |
| 1. 6, 2. 5 |
| |
| 4. 0, 6.4 |
1000 |
720 |
1230 |
400 |
520 |
451 |
392 |
381 |
328.6 |
51 |
7 |
5 |
16 |
M30 |
|
| |
| 五、双转子型号表示方法: |
| 基本型号 |
1 |
2 |
3 |
4 |
5 |
6 |
说明 |
| 公称通径 |
计数器 |
公称压力 |
特征 |
发讯器 |
工作温度 |
| UF-E |
|
|
|
|
|
|
表示:双转子流量计 |
| |
8 |
|
|
|
|
|
公称通径为8mm |
| |
15 |
|
|
|
|
|
公称通径为15mm |
| |
25 |
|
|
|
|
|
公称通径为25mm |
| |
40 |
|
|
|
|
|
公称通径为40mm |
| |
50 |
|
|
|
|
|
公称通径为50mm |
| |
80 |
|
|
|
|
|
公称通径为80mm |
| |
100 |
|
|
|
|
|
公称通径为100mm |
| |
150 |
|
|
|
|
|
公称通径为150mm |
| |
200 |
|
|
|
|
|
公称通径为200mm |
| |
250 |
|
|
|
|
|
公称通径为250mm |
| |
300 |
|
|
|
|
|
公称通径为300mm |
| |
|
W |
|
|
|
|
无表头脉冲发讯 |
| |
|
J |
|
|
|
|
机械计数器 |
| |
|
E |
|
|
|
|
电子计数器 |
| |
|
H |
|
|
|
|
回零机械计数器 |
| |
|
|
1.6 |
|
|
|
公称压力为1.6Mpa |
| |
|
|
2.5 |
|
|
|
公称压力为2.5 Mpa |
| |
|
|
4 |
|
|
|
公称压力为4.0 Mpa |
| |
|
|
6.3 |
|
|
|
公称压力为6.3 Mpa |
| |
|
|
|
C304 |
|
|
转子为304不锈钢 |
| |
|
|
|
C316 |
|
|
转子为316不锈钢 |
| |
|
|
|
CC304 |
|
|
壳体、转子为304不锈钢 |
| |
|
|
|
CC316 |
|
|
壳体、转子为316不锈钢 |
| |
|
|
|
|
F |
|
发讯器脉冲输出 |
| |
|
|
|
|
I |
|
发讯器电流输出 |
| |
|
|
|
|
|
A |
工作温度-20~+80 |
| |
|
|
|
|
|
B |
工作温度-20~+150 |
| |
|
|
|
|
|
C |
工作温度-20~+250 |
| |
|
|
|
|
|
D |
工作温度-20~+350 |
|
|
|
本页产品地址:http://www.geilan.com/sell/show-153498.html

免责声明:以上所展示的[
HN-E双转子流量计(螺旋转子流量计)]信息由会员[
金湖普升仪表科技有限公司]自行提供,内容的真实性、准确性和合法性由发布会员负责。
[给览网]对此不承担任何责任。
友情提醒:为规避购买风险,建议您在购买相关产品前务必确认供应商资质及产品质量!