| 提交询价信息 |
| 发布紧急求购 |
价格:电议
所在地:上海
型号:
更新时间:2015-03-11
浏览次数:1360
公司地址:上海市闵行区元江路5500号
![]()
杨挺(先生) 经理
上海传流阀门有限公司成立于世界闻名的大城市━上海,地理位置优越,陆、海、空交通便利,是一家专业代理及经销进口阀门的企业。公司拥有一支非常稳定的专业技术队伍,具备丰富的销经验售和完善技术支持,周到的售后服务体系,时刻把满足客户放在首位,以“服务与价格并重”的服务理念,使得传流公司长期稳定发展。
USA FRANK VALVE LIMITED美国富兰克阀门公司作为美洲大型的阀门制造厂之一,在这一领域中,我们居于全球的领先地位。直属拥有3家专业的阀门研究单位,全球拥有12家分公司,在阀类流体理论和基础部件加工方面具有一定的权威性。此外,许多国家的大量分销商也在销售着富兰克的产品。美国富兰克阀门公司秉承一流美洲的工程技术传统,研发、制造调节阀产品,提供多项优质服务于能源领域,同时更致力于通过技术创新和高品质追求以及灵活服务的组合,为广大用户提供更安全稳定的高新产品。作为在阀门行业高性价比的代名词,美国富兰克为客户提供从单一产品到复杂系统的阀门全面解决方案。C系列直行程调节阀,V系列自力式调节阀是当今世界应用最广泛的调节阀,可以在任何流体需要控制的工业里发现它。被应用于全球众多建筑、商业、机械设备、工业和市政供水领域。
富兰克的价值理念概括为:责任-远见-创新。我们因自身的责任感、远见及专注于创造前所未有的解决方案和理念,而成为全球领先的阀门制造商。早在2003年富兰克已进入中国,中国上海设立了办事处,也就是现今的富兰克亚太区总部,2006年在香港建立了独资工厂。富兰克始终认为中国的发展对于全球的发展具有着重要意义,同时也热切期望融入其中,为中国发展做出努力和贡献。
目前在中国市场已拥有一批稳定的用户,如中石油、中石化、中航、中船、华能集团、蒙牛乳业、雅士利乳业、旺旺集团、武钢、攀钢、吴忠仪表股份、杭州汽轮机股份、山西压缩天然气集团公司、上海宝钢集团、国华准格尔发电厂、海拉尔发电厂、广州丰田汽车、上海华东理工大学、上海上仪集团、上海人民电器开关厂、浙江大学、宁波象山电站湖南湘潭电厂、深圳制药厂、大庆炼化、辽河油田、恒安纸业、深圳水务集团、香港中华电力公司等等。
进口二位二通高温电磁阀系列(常闭型)
进口高温电磁阀产品原理:
进口二位二通常闭型高温不锈钢电磁阀系列,是自动控制系统中常见的执行器件,采用先导阀、散热器、活塞
(主阀)组合形成的结构设计;通电打开,断电关闭;主要应用于对蒸汽、导热油等高温介质在管路中的自动启闭,
从而达到系统和设备的程序控制或远程控制等

进口高温电磁阀性能规范:
1.电源电压:AC220V AC110V 保持功率AC:33VA(19.5W)
DC24V 功率DC:24W
电源允许波动:±10% (其它电压可以定制)
2.线圈配置方式:标准H级金属罩壳直接出线式(W型)
3.使用温度:5℃~250℃
4.工作介质:蒸汽、导热油等
5.动作方式:先导式结构的电磁阀,有压差启动;
6.阀体材质:SS304、SS316
7.安装:按阀上介质流向所示,线圈向上,水平安装;

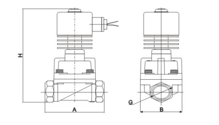
外型结构图

型号规格(螺纹接口)
| 连接螺纹 | 流量通径mm | CV值 | 工作压力范围(Kgf/cm2) | zui大温度℃ |
外行尺寸 |
||
| zui小压力 | 导热油 | 蒸汽 | |||||
| 3/8" | 15 | 4.5 | 0.5 | 25 | 25 | 250 | 75×52×159 |
| 1/2" | 15 | 4.5 | 0.5 | 25 | 25 | 250 | 75×52×159 |
| 3/4" | 20 | 8.0 | 0.5 | 25 | 25 | 250 | 85×60×171 |
| 1" | 25 | 12 | 0.5 | 25 | 25 | 250 | 100×70×178 |
| 11/4" | 35 | 22 | 0.5 | 25 | 25 | 250 | 120×90×198 |
| 11/2" | 35 | 22 | 0.5 | 25 | 25 | 185 | 120×90×198 |
| 2" | 50 | 45 | 0.5 | 25 | 25 | 250 | 150×110×220 |
二位二通型高温不锈钢法兰电磁阀<常闭型>
高温电磁阀(法兰连接数据表)
|
流量通径mm
|
CV值
|
压力差(Kgf/cm2)
|
zui大流体温度
|
线圈 |
订货型号以下表中电压为 220VAC 50/60HZ |
|||
|
zui小压力
|
导热油
|
蒸汽
|
配置
|
等级
|
||||
|
25
|
12
|
0.5
|
25
|
25
|
250
|
W
|
H
|
SLH1WH02T4F15
|
|
32
|
22
|
0.5
|
25
|
25
|
250
|
W
|
H
|
SLH1WH02T4F15
|
|
40
|
22
|
0.5
|
25
|
25
|
250
|
W
|
H
|
SLH1WH02T4F20
|
|
50
|
||||||||
外形尺寸图

免责声明:以上所展示的[ 进口二位二通高温电磁阀/常闭型]信息由会员[上海传流阀门有限公司]自行提供,内容的真实性、准确性和合法性由发布会员负责。