提交询价信息
发布紧急求购
您好,欢迎来到给览网!手机版|本站服务|添加收藏|帮助中心
您所在的位置: 给览网 » 供应 » 仪器配件 » 其他仪器配件 » AS、AV型 AS、AV型撕裂式潜水排污泵

AS、AV型 AS、AV型撕裂式潜水排污泵

温州市威王泵阀制造有限公司
会员指数: 企业认证:

价格:电议

所在地:浙江 温州市

型号:AS、AV型

更新时间:2021-06-25

浏览次数:2133

公司地址:浙江省永嘉县瓯北镇五星工业区

朱宝 (先生) 经理 

产品简介

【AS型撕裂式潜水排污泵】产品概述:AS、AV型撕裂式潜水排污泵是本司采用德国的技术研发而成,此系列水泵具有带撕裂的结构,能将污

公司简介


温州市威王泵阀制造有限公司(原永嘉县高盾泵阀厂)座落在风景秀丽的中国泵阀之乡——温州瓯北,与市区隔江相望,甬台温、金丽温高速贯穿市中心;到火车站仅需20分钟车程,至机场不到1小时,交通十分便利,资讯发达。企业自成立以来,充分的利用区域性专业集群优势,大力开发科技创新,迅速发展壮大,在强手如林的泵阀世界占据了一席之地。
  我公司主要生产产品:管道泵,离心泵,排污泵,隔膜泵,化工泵,消防泵,潜水泵,热水泵,气动隔膜泵,电动隔膜泵,不锈钢离心泵,不锈钢化工泵,不锈钢管道泵,管道离心泵,单级离心泵,油泵,清水泵,液下泵,多级泵,磁力泵,螺杆泵,真空泵,磁力泵,污水泵,泥浆泵,浓浆泵,成套供水设备等产品已广泛应用于石油、化工、电力、食品、医药、造纸、冶金、能源、楼宇、市政工程、污水处理、环保、给排水等各个领域。公司还根据用户需求开发设计有特殊要求的产品,同时为用户提供技术咨询并解决相关的问题。
  公司一直奉行“以质量求生存,靠科技求发展”的宗旨。在实施全面质量管理的基础上,以精良的工艺装备,先进合理的设计,专业化的生产,外观与内在并重的质量理念和用户至上的服务意识,及具有竞争力的成本,为您提供高品质且不断改进的产品及优质服务,诚邀中外客商、各界用户和友仁前来考察、洽谈贸易,愿与您在成功的道路上携手并进,共谱凯歌.

展开

产品说明


【AS型撕裂式潜水排污泵】产品概述:
AS、AV型撕裂式潜水排污泵是本司采用德国的技术研发而成,此系列水泵具有带撕裂的结构,能将污水中长纤维、袋、带、草、布条等物质撕裂、切断,然后顺利排放,特别适合于输送含有坚硬固体、纤维物的液体以及特别脏、粘、滑的液体。该系列排污泵水力性能、成熟,产品经性能测试,各项指标均符合有关设计要求。
本司产品全部采用计算机设计和优化处理,公司拥有雄厚的技术力量、丰富的生产经验和完善的检测手段,从而保证产品质量的稳定可靠。
【AS型撕裂式潜水排污泵】型号意义: 
 
【AS型撕裂式潜水排污泵】产品特点: 
 ◆ 采用技术,排污能力强,无堵塞,能有效地通过直径φ30-φ80毫米的固体颗粒。
 ◆ 撕裂机构能够把纤维物质撕裂,切断,然后顺利排放,无需在泵上加滤网。
 ◆ 设计合理,配套电机功率小,节能效果显著。
 ◆ 用新材料的机械密封,可以使泵安全连续运行在8000小时以上。
 ◆ 结构紧凑,移动方便,安装简单,可减少工程造价,无需建造泵房。
 ◆ 能够在全扬程范围内使用,而保证电机不会过载。
 ◆ 浮球天并可以根据所需的水位变化,自动控制泵的启动与停止,不需专看管。
 ◆ 双导轨自动安装系统,它给安装、维修带来了大的方便,人可不必为此而进出污水坑。
 ◆ 配备全自动保护控制箱对产品的漏电、漏水以及过载等进行了有效保护,提高了产品的安全性与可靠性。 
【AS型撕裂式潜水排污泵】技术范围: 
     流量:15-145m3/h;
     扬程:4-25m;
     转速:1450-2900r/min;
     口径:φ76-φ152;
     温度范围:-15-+40℃;
     工作压力:≤1.0Mpa。 
【AS型撕裂式潜水排污泵】主要用途: 
  ◆ 工厂、商业严重污染废水的排放
  ◆ 医院、宾馆的污水排放
  ◆ 城市污水处理厂排放系统
  ◆ 市政工程、建筑工地
  ◆ 住宅区的污水排水系统
  ◆ 勘探、矿山配套附机
  ◆ 人防系统排水站
  ◆ 农村沼气池、农田灌溉 
【AS型撕裂式潜水排污泵】性能参数:  

型号
流量
扬程
电机功率
转速
额定电压
额定电流
配用胶管内径
自耦装置
重量
(m3/h)
(M)
(kw)
(r/min)
(V)
(A)
mm
AS10-2W/CB
15
4
1.1
2850
220
5.65
76
80GAK
30
AS10-2CB
15
4.5
1.1
2850
380
2.9
76
80GAK
30
AS16-2CB
29
7.6
1.5
2850
380
3.5
76
80GAK
33
AS30-2CB
42
11
3
2850
380
6.4
76
80GAK
40
AS55-2CB
45
13
5.5
2900
380
11.1
127
100GAK
165
AS55-4CB
100
7.5
5.5
1450
380
11.6
152
150GAK
180
AS75-2CB
60
18
7.5
2900
380
15.0
127
100GAK
185
AS75-4CB
145
10
7.5
1450
380
15.4
152
150GAK
200
AV14-4
22
5.8
1.5
1450
380
3.5
76
80GAK
33
AV55-2
30
20
5.5
2900
380
11.1
76
100GAK
165
AV75-2
30
25
7.5
2900
380
15.0
76
100GAK
200

AS、AV型撕裂式潜水排污泵外形尺寸:


安装注意事项
正确安装使用是该泵长久,正常运转的基本保证,特别提醒用?千万不可大意:
1、水泵电源线必须与配套电控装置或匹配热继电保护器相连接,不得直接与总电源相接;
2、无论是移动安装还是自动固定式安装,提泵链索及电缆线均不应垂落太长以免被泵吸进切断;
3、积水池底部泥浆过绸或硬石过多时,应将泵置于该物质之上30cm或将泵放置于一块大的铁板之上;
4、水泵排水管应按说明选用,不宜随便改变;
5、单台水泵安装在水无可能回流情况下,尽可能不装止回阀;
6、双台水泵并联时,不得将闸阀及止回阀安置在主管处,以致泥沙反?至备用泵上端造成止回阀不能启动,如有可能应在?管处设干井,安装置放止回阀及?阀;
7、确保电泵转向正确后,方可投入连续运转;
8、本系列水泵长期使用过程中,无论自动、手动,不得频繁启动,一般每小时不宜超过六次;
9、维修水泵时,必须切断电源。

AS、AV型撕裂式潜水排污泵安装尺寸:
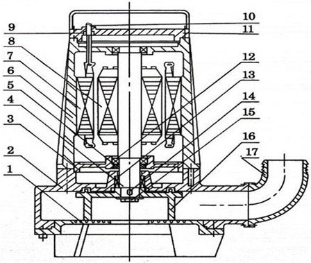
AS型撕裂式潜水排污泵】结构图: 
1
底座
10
电缆
2
泵体
11
上盖
3
轴承体
12
轴承
4
13
机械密封
5
唇型密封
14
平键
6
电机壳
15
叶轮螺母
7
定子鉄芯
16
叶轮
8
转子铁芯
17
弯管
9
进线密封
   
【AS型撕裂式潜水排污泵】性能参数: 

型号
流量
扬程
电机功率
转速
额定电压
额定电流
配用胶管内径
自耦装置
重量
(m3/h)
(M)
(kw)
(r/min)
(V)
(A)
mm
AS10-2W/CB
15
4
1.1
2850
220
5.65
76
80GAK
30
AS10-2CB
15
4.5
1.1
2850
380
2.9
76
80GAK
30
AS16-2CB
29
7.6
1.5
2850
380
3.5
76
80GAK
33
AS30-2CB
42
11
3
2850
380
6.4
76
80GAK
40
AS55-2CB
45
13
5.5
2900
380
11.1
127
100GAK
165
AS55-4CB
100
7.5
5.5
1450
380
11.6
152
150GAK
180
AS75-2CB
60
18
7.5
2900
380
15.0
127
100GAK
185
AS75-4CB
145
10
7.5
1450
380
15.4
152
150GAK
200
AV14-4
22
5.8
1.5
1450
380
3.5
76
80GAK
33
AV55-2
30
20
5.5
2900
380
11.1
76
100GAK
165
AV75-2
30
25
7.5
2900
380
15.0
76
100GAK
200

【AS型撕裂式潜水排污泵】性能型谱图: 
【AS型撕裂式潜水排污泵】使用说明: 
   在水泵启动之前,应由一名合格的电工对该系统进行检查,以确保下列下述各顶所要求的电器保护措施:
1、泵在运转前,应用0~500兆欧表检查电机相间及相对地缘电阻,zui低値应大于2MΩ;
2、电源装置应安全、可靠、正常。电源电压、频率应符合规定(电压为380V±5%,频率为50Hz±1%),且电压的瞬时超差不应超过10%。如果电源离水泵使用的距萬较远时,电缆的截面积应加粗,接头应尽可能少些,否则会使电压下降太多,且应在电缆接头处作密封防水处理,以防漏电;
3、在四芯电缆中,带有符号"┴"者为接地线(一般为绿黃双色线或黑色线)为了保证安全使用, 必须牢固接地,并比其它线长出50mm;
4、条件许可时,电器保护装置可包括:接地保护器,地面漏电断流器等,但是,在任何情况下,都必须装有和电泵额定电流値相符的慢熔保险熔断丝;
5、电器控制装置应防潮,井安装在防潮的区域,电缆的安放应注意不要使其堵在泵的吸入口处;
6、检查转子转动方向。
   在电泵初次启动或重新安装后都应检查转动方向,转动方向不正确运转会造成水泵效率降低,或造成叶轮脫落等损坏水泵事顶。
为测定转子转动方向,在水泵终安装之前,应举高并作点动运行,符合下列情况即转动方向正确, 否则,应交換控制器上三相线中任意两根线的位置以改变转动方向。
a.从泵的顶部向下看,转子顺时针方向转动;
b、从底部向上看〔即吸入口方向〕可见叶片按逆时针方向转动。
注:如果几台泵连到同一个控制器上,则应单独检查。 
【AS型撕裂式潜水排污泵】运输与使用注意事项: 
1、决不允许用泵的电缆线起吊或悬挂水泵,在搬运或悬挂水泵时,可用带钩的链条钩在把手上或上盖的吊环上;
2、在移动使用时,出水软管可用前面表格规定的标准软管接头,接在水泵的出水弯管上,固定使用时,可根据自耦装置的法兰标准设置管路;
3、水泵不能放在污水的出口处,当水泵座放在泥地上或浮沙上吋,水泵由于震动,产生下陷,这时建议用戶将水泵悬置起宋或放在一个较大的底板上;
4、如果泵仍在继续运转,在0℃以下的气溫时,可以继续使用,但如果停止不用时,则应将泵吊起清洗保管;
5、出水管內径应符合规定的要求,但在输送距离较远时,也可适当减小內径但易引起堵塞,降低输送效率,不经济;
6、在污水中使用的泵,经过长时间运转之后,在机壳的周围可能堆集泥浆等杂物,降低了传热的速度,使泵的內部溫度上升,缩短电机的使用寿命,或造成无缘无故的跳闸,因此,每运转一定时段之后〔比如降至zui低水位)应用软管对泵进行冲洗,保持其淸洁;
7、泵密封使用10#-30#机械油进行润滑冷却,由于密封磨损,润滑油会漏出,而辙送介质也可能经过密封逬入电机,这时请赶快将泵送至本厂修理部门或委托维修点更換密封,以免将水泵电机烧坏;
8、未切断电源时,不得移动水泵,不得在泵工作吋接触四周的水源,以防泵万一漏电,而又无地面漏电断流器装置时,造成触电事故;
9、潜水电泵安装以后,不宜长期浸泡在水中不用,从而增加电机受潮的机会,同时建议每周至少运转4小时以检查其功能及适应性,否则,应提起放在干燥处备用。 
【AS型撕裂式潜水排污泵】安装注意事项: 
正确安装使用是该泵长久,正常运转的基本保证,特别提醒用戶千万不可大意:
1、水泵电源线必须与配套电控装置或匹配热继电保护器相连接,不得直接与总电源相接;
2、无论是移动安装还是自动固定式安装,提泵链索及电缆线均不应垂落太长以免被泵吸进切断;
3、积水池底部泥浆过绸或硬石过多时,应将泵置于该物质之上30cm或将泵放置于一块大的铁板之上;
4、水泵排水管应按说明选用,不宜随便改变;
5、单台水泵安装在水无可能回流情况下,尽可能不装止回阀;
6、双台水泵并联时,不得将闸阀及止回阀安置在主管处,以致泥沙反沖至备用泵上端造成止回阀不能启动,如有可能应在橫管处设干井,安装置放止回阀及闬阀;
7、确保电泵转向正确后,方可投入连续运转;
8、本系列水泵长期使用过程中,无论自动、手动,不得频繁启动,一般每小时不宜超过六次;
9、维修水泵时,必须切断电源。 
【AS型撕裂式潜水排污泵】检查与维修: 
   本系列泵产品性能优良,运行可靠,每台泵在出厂前都进行了严格的出厂检测,润滑的球轴承以及处于油室內运行的优质机械密封使水泵具有zui大的耐用性,然而,为了桷保水泵的使用寿命,建议进行定期的检查和保养。
1、定期检查电泵电动机相间及相对地间缘电阻,其値应大于2MΩ,否则应拆机检修(逬行干燥处理)同时检查接地是否牢固;
2.叶轮和撕裂机构(底座盖板)之间的间隙为0.3~0.5,在介质中长期使用之后,此间隙可能由于磨损而增大,此时应予以调整,其方法如下:断幵电源,松幵固定螺钉,将盖板旋转一个适当的角度即可恢复原间隙;
3、电泵多次使用后必须把电泵放入清水中运行数分钟,防止泵內留下沉积物,以保证电泵的清洁';
4、电泵在规定的介质中正常运行半年后应检查油室密封状况,更換10#~30#机油必要时更換机械密封件,对于在恶劣工作条件下使用的电泵,应经常检修;
   换油方法如下:把泵放置好,使油室螺塞(位于出水口內侧)朝下,放出润滑油,然后用洗深油清洗油室,再注入适量的油(约70%~80%)再換一个新的〇型圈并将螺塞旋紧。
   如油中发现有水〔奶状乳化液)按规定冲洗油室井重新装油,三个星期后必须重新檢查一次,如果油又变成乳状液,机械密封件应进行检查,必要时应予更換(与我厂维修部接洽〕,如自己更換密封件,须做气密试验(空气压力为0.5kg/cm2)
5、万一发生故障,在不能确定原因,幷且按后面提供的排除方法仍不能解决吋,清不要釆取临时凑的办法,更不要私自乱拆乱修,而应与我厂维修部门联系。 
【AS型撕裂式潜水排污泵】故障原因及排除方法:  

故障原因
原因分析
处理方法
泵的流量或扬程下降
1.泵反转
2、输送扬程太高。
3、抽吸的介质走旁路。
4、出水管泄漏。
5、出水管局部可能被沉积物堵死
6、泵局部堵塞。
7、叶轮/底座磨损。
1、关掉控制箱的总电源,洞換任何二相电源线。
2、 检查:a、选择的泵型号是否正确。
b、出水管尺寸是否正确。
3、 检查阀门是否被关死,然后满员载测试泵。
4、 找出泄漏,幷逬行修正。
5、 检查管线,清理或更換新的。
6、 吊起泵涌理,如果泵放在滤网內,同样也需检查和清理
7、 吊起泵凋整间隙或更換零件。
泵的运转后无流量
1、气塞。
2、检查出水排放阀门。
3、泵反转。
1、 a、接二连三地打幵和关闭阀门几次。
b、启动停止泵几次,每次重新启动之间间隙为2—3分钟
c、根据不同的安装方法,检査是否需裝一个空气释放阀
2、 a、如果阀门处于关闭状态应打幵。
b、如果装反了,应重新倒过来。
3、 参见1.(1)
泵起动和停止太频繁
1、浮球开关定的距离太短。
2、逆止阀故障,逆止阀不能止回,使液体倒流入污水池。
1、重调浮球开关,延长运行时间。
2、检查并维修。
停止失灵
1、浮球幵关,亭止"功能失灵”。
2、浮球上浮子卡在"工作"的位置
1、检查,如需要应予更换。
2、忪幵,如需要的活,可改変位置。
泵起动后,断路器/过载器跳开
1、电压低。
2、电压过高。
3、电讥接线不对
4、在蜗壳底部堆积了泥浆或?它沉积物。
1、 a、检查控制盒电压,如电压过低,暂时不能使用。 b、电缆线过长,引起压降过大,应尽量缩短电缆,幷适当选择粗些的电缆。
2、装变压器,将电压洞到规定的范围。
3、检查在控制盒中的电缆彩色编号和接头标号并检查接线
4、清理泵和污水池,参见安装说明中的有关部分。
泵不能启动,熔丝熔断或断路器跳开
1、浮球故障。
2、绕组、接头或电缆断路。
3、泵被堵塞
1、检查使用旁路浮球幵关是否能启动泵。如是,应检查浮球幵关。
2、用欧姆表检查。如果证明是路,检查绕组,接线头及电缆。
3、切断电源,将泵移出污水池,清除障碍物复位前试用一下。
泵启动不了,但熔丝没断或过载保护器不跳开
1、没电。
2、绕组、电缆、接线头或控制麁断路。
1、检查控制盒是否有电。
2、检查电缆、电机的接头和绕组。


本页产品地址:http://www.geilan.com/sell/show-1016282.html
免责声明:以上所展示的[AS、AV型 AS、AV型撕裂式潜水排污泵]信息由会员[温州市威王泵阀制造有限公司]自行提供,内容的真实性、准确性和合法性由发布会员负责。
[给览网]对此不承担任何责任。
友情提醒:为规避购买风险,建议您在购买相关产品前务必确认供应商资质及产品质量!

发布询价单

您最近浏览过的产品

没有合适的产品?是否在线询价?
询价标题
联系人
电话
主要内容
验证码