公司简介
上海华戎自动化科技有限公司是致力于工业生产过程控制仪表和自动化系统的开发、研制、生产、销售及工程施工的综合性企业,其产品广泛应用于石油、化工、电力、冶金、酿造、水利、环保等行业。
公司自创建以来,始终以振兴民族仪表工业为己任,在不懈的探索和实践中,汇聚了一批仪表高级工程师及专家队伍,积累了丰富的经验,并从九十年代引进了国外先进技术和设备。经过勤奋求实,不断创新,已形成现场仪表、盘装仪表、计量仪表、电线电缆、仪表管件、仪表阀门等成套系列化的生产规模。同时为满意用户需求,还代理美国、日本、德国等国外知名企业产品。在质量上,顺利通过了ISO9001质量体系认证。公司以其雄厚的技术力量,先进的生产设备,齐全的检测手段,精确、可靠的产品,完善的售后服务体系,赢得了众多用户的信赖。
“华戎科技”欢迎新老客户的垂询,愿以高效、优质的服务成为您合作的好伙伴。让我们精诚合作,共创辉煌。
展开
产品说明
|
|
一、用途:
|
| HR-LWGY-1涡轮流量传感器与显示仪表配套组成涡轮流量计。传感器具有精度高,重复性好,寿命长操作简单等特点。可广泛应用于石油,化工,冶金,造纸等行业测量液体的体积瞬时流量和体积总量。 |
| 二、特点: |
◆ 压力损失小,叶轮具有防腐功能。
◆ 具有较高的抗电磁干扰和抗震动能力,性能可靠工作寿命长。
◆ 采用先进的超低功耗单片微机技术,整机功能强,功耗低,性能优越。具有非线性精度补偿功能的智能流量显示器。修正公式精度优于±0.02%。
◆ 仪表系数可由按键在线设置,并可显示在LCD屏上,LCD屏直观清晰,可靠性高。
◆ 采用EEPROM对累积流量、仪表系数进行掉电保护。保护时间大于10年。 |
| 三、主要技术参数: |
◆ 流量计规格,基本参数和性能指标(见表二)
◆ 准确度:0.5级、1.0级;
◆ 使用条件:
1、 环境温度-20℃~50℃;
2、 相对温度:5%~95%;
3、 被测介质温度:-20℃~120℃;
4、 大气压力:86Kpa~106Kpa;
5、 防爆等级:ibⅡBT4.
◆ 信号传输距离:传感器至显示器的距离可达1000m。 |
|

|

|

|

|
|
LWGY-4~10系列螺纹型
|
LWGY-15~40系列螺纹型
|
LWGY-40~200系列法兰型
|
LWGY-4~40系列卫生型
|
|

|

|

|

|
|
LWGB-4~10系列螺纹型
|
LWGB-15~40系列螺纹型
|
LWGB40~200系列法兰型
|
LWGB4~40系列卫生型
|
|

|

|

|

|
|
LWGB-4~200系列现场显示型
|
LWY-15~40系列智能型
|
LWY-40~200系列智能型
|
LWGY-4~200系列高压型
|
|
|
| 四、 电气特性: |
1、 显示方式:
(1)LWGY 远传输出型:三线制脉冲输出(配显示仪表);
(2)LWY 现场显示型:8位LCD显示累积流量,单位(m3)
5位LCD显示瞬时流量,单位(m3/h)
(3)LWGB 远传输出型:二线制4~20mA信号输出(可现场显示瞬时流量)。
2、输出功能:
(1)LWGY 型脉冲输出,p-p值由供电电源确定;
(2)LWY 型可带脉冲输出或4~20mA两线制电流输出;
(3)LWGB 型4~20mA两线制电流输出(可4位数字显示瞬时流量)。
3、供电电源:
(1)LWGY:DC5~24V;
(2)LWY:3V锂电池安装于仪表内部可连续使用八年以上;
(3)LWGB:DC24V。
|
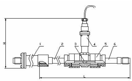
| 五、 仪表结构及安装方式:见(表二)、(图一)、(图二)、(图三)、(图四) |
1、 仪表安装采用法兰连接、螺纹连接及夹装式;
2、 安装时液体流动方向应与传感器外壳上指示流向的箭头方向一致,且上游直管段应≥20DN,下游直管段应≥5DN(DN为管道内径)。
3、传感器应远离外界磁场,如不能避免,应采取必要的措施;
4、为了检修时不至影响液体的正常输送,应在传感器两端的直管段外安装旁通管道(如图四);
5、传感器露天安装时,请做好放大器插头的防水处理;
6、传感器与显示仪表的接线,应根据放大器的电源来选择接线方式,详见有关“使用说明书”。 |
 |
| 图一 LWGY—4~10传感器结构及安装尺寸示意图 |
 |
| 图二 LWGY—15~40传感器结构及安装尺寸示意图 |
 |
| 图三 LWGY—50~200传感器结构及安装尺寸示意图 |
 |
| 图四 合理的安装方式 |
| |
| 六、型号及规格说明: |

如:LWGY-50-BE:表示口径为50mm, 防爆、夹装式涡轮流量传感器;
LWGB-50:表示口径为50mm,涡轮流量变送器。 |
| (表二) |
|
型号
规格
|
公称通径DN(mm)
|
流量范围
(m3/h)
|
工作压力(Mpa)
|
安装形式
|
L
mm
|
G
|
D
|
d
|
孔数个
|
|
LW-4
|
4
|
0.04-0.25
|
6.3
2.5
|
|
350(50)
|
G1/2
|
|
|
|
|
LW-6
|
6
|
0.1-0.6
|
螺纹(夹装)
|
390(50)
|
G1/2
|
|
|
|
|
LW-10
|
10
|
0.2-1.2
|
螺纹(夹装)
|
450(50)
|
G1/2
|
|
|
|
|
LW-15
|
15
|
0.6-6
|
螺纹(夹装)
|
75(55)
|
G1
|
|
|
|
|
LW-20
|
20
|
0.7-7
|
螺纹(夹装)
|
85
|
G1
|
|
|
|
|
LW-25
|
25
|
1-10
|
螺纹(夹装)
|
100(60)
|
G5/4
|
|
|
|
|
LW-32
|
32
|
1.5-15
|
夹装
|
70
|
|
|
|
|
|
LW-40
|
40
|
2-20
|
螺纹(夹装)
|
140(70)
|
G2
|
|
|
|
|
LW-50
|
50
|
4-40
|
螺纹(夹装)
|
150(70)
|
|
φ150
|
φ18
|
4
|
|
LW-65
|
65
|
7.5-75
|
夹装
|
80
|
|
|
|
|
|
LW-80
|
80
|
10-100
|
法兰(夹装)
|
200(90)
|
|
φ160
|
φ18
|
8
|
|
LW-100
|
100
|
20-200
|
法兰(夹装)
|
220(110)
|
|
φ180
|
φ22
|
8
|
|
LW-150
|
150
|
30-300
|
法兰(夹装)
|
300
|
|
φ240
|
φ22
|
8
|
|
LW-200
|
200
|
80-800
|
法兰(夹装)
|
360
|
|
φ295
|
φ22
|
12
|
|
|
注:DN4-25mm口径常规产品耐压6.3MP
DN32-200mm口径常规产品耐压2.5MPa
本公司还经营:孔板流量计 智能涡街流量计 锥型流量计 插入式电磁流量计
|
本页产品地址:http://www.geilan.com/sell/show-101483.html