提交询价信息
发布紧急求购
您好,欢迎来到给览网!手机版|本站服务|添加收藏|帮助中心
您所在的位置: 给览网 » 供应 » 工控仪表 » 流量仪表 » 节流装置 » HR-LG 节流孔板

HR-LG 节流孔板

上海华戎自动化科技有限公司
会员指数: 企业认证:         

价格:电议

所在地:上海

型号:HR-LG

更新时间:2011-02-28

浏览次数:1697

公司地址:上海市浦东新区西泰林路901弄43号

倪铭艺(先生) 经理 

产品简介

节流装置的详细资料:

公司简介

       上海华戎自动化科技有限公司是致力于工业生产过程控制仪表和自动化系统的开发、研制、生产、销售及工程施工的综合性企业,其产品广泛应用于石油、化工、电力、冶金、酿造、水利、环保等行业。
       公司自创建以来,始终以振兴民族仪表工业为己任,在不懈的探索和实践中,汇聚了一批仪表高级工程师及专家队伍,积累了丰富的经验,并从九十年代引进了国外先进技术和设备。经过勤奋求实,不断创新,已形成现场仪表、盘装仪表、计量仪表、电线电缆、仪表管件、仪表阀门等成套系列化的生产规模。同时为满意用户需求,还代理美国、日本、德国等国外知名企业产品。在质量上,顺利通过了ISO9001质量体系认证。公司以其雄厚的技术力量,先进的生产设备,齐全的检测手段,精确、可靠的产品,完善的售后服务体系,赢得了众多用户的信赖。
   “华戎科技”欢迎新老客户的垂询,愿以高效、优质的服务成为您合作的好伙伴。让我们精诚合作,共创辉煌。
展开

产品说明


节流装置的详细资料:

形式说明

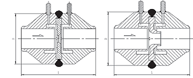
  角接环室取压标准孔板(喷嘴)-法环孔(喷)
型号:HR-LG适用压力:Pn0.01~Pn2.5Mpa
适用管径:DN40~DN600
用途及特点:使用于气体、液体和蒸汽等流量测量,控制和调节。它具有测量精度高、造价低、安装简单、维护方便等特点。

  角接环室取压标准孔板(喷嘴)-法环孔(喷)
型号:HR-LG适用压力:Pn2.5~Pn6.3Mpa
适用管径:DN40~DN600
用途及特点:使用于较高工作压力气体、液体和蒸汽等流量测量,控制和调节。它具有测量精度高、使用寿命长、安装维护方便等特点。

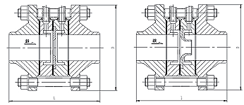
  角接取压标准孔板(喷嘴)-法孔(喷)
型号:HR-LG适用压力:Pn6.3~Pn10Mpa
适用管径:DN40~DN500
用途及特点:使用于高压下气体、液体和蒸汽等流量测量,控制和调节。它具有测量精度高、安装使用、维护方便等特点。

  角接取压标准孔板(喷嘴)-环孔(喷)
型号:HR-LG适用压力:Pn2.5~Pn32.0Mpa
适用管径:DN15~DN500
用途及特点:使用于高温高压下的液体,蒸汽及热网管道的流量测量,控制和调节。它具有耐冲击,孔板或喷嘴不易变形,测量精度高、密封性能好,使用寿命长等特点。

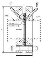
  角接钻孔取压标准孔板
型号:HR-LG
适用压力:Pn0.01~Pn2.5Mpa
适用管径:DN400~DN2000
用途及特点:适用于气体、液体等介质的大管径的流量测量控制和调节。它具有测量精度高、安装使用方便,造价低等特点。

  角接钻孔取压标准孔板

型号:HR-LG

适用压力:Pn2.5~Pn10.0Mpa
适用管径:DN400~DN1000
用途及特点:适用于高温、高压下的气体、液体等介质的大管径的流量测量控制和调节。它具有测量精度高、安装使用方便,造价低等特点。

 

一、概述

   HR-LG标准孔板节流装置充满管道的流体,当它们流经管道内的节流装置时,流束将在节流装置的节流件处形成局部收缩,从而使流速增加,静压力低,于是在节流件前后便产生了压力降,即压差,介质流动的流量越大,在节流件前后产生的压差就越大,所以可以通过测量压差来衡量流体流量的大小。这种测量方法是以能量守衡定律和流动连续性定律为基准的。
智能节流装置(流量计)是集流量、温度、压力检测功能于一体,并能进行温度、压力自动补偿的新一代流量计,该仪表采用先进的微机技术与微功耗新技术,功能强,结构紧凑,操作简单,使用方便。

二、特点
▲节流装置结构易于复制,简单、牢固,性能稳定可靠,使用期限长,价格低廉。
▲孔板计算采用国际标准与加工
▲应用范围广,全部单相流皆可测量,部分混相流亦可应用。
▲标准型节流装置无须实流校准,即可投用。
▲一体型孔板安装更简单,无须引压管,可直接接差压变送器压力变送器
智能型特点
▲采用进口单晶硅智能差压传感器
▲高精度,完善的自诊断功能
▲智能孔板流量计其量程可自编程调整。
▲可同时显示累计流量、瞬时流量、压力、温度。
▲具有在线、动态全补偿功能外,还具有自诊断、自行设定量程。
▲配有多种通讯接口
▲稳定性高
▲量程范围宽、大于10:1
智能型技术指标
▲高精度:±0.075%
▲高稳定性:优于0.1%FS/年
▲高静压:40MPa
▲连续工作5年不需调校
▲可忽略温度、静压影响
▲抗高过压

 

型号

说 明

HR-LG 节流装置
  代号

按其结构特征的两大基本分类

  K

孔板

  P

喷嘴等

 

代号

公称压力(105Pa)

 

2.5

2.5

 

10

10

 

16

16

 

25

25

 

64

64

 

100

100

 

200

200

 

代号

口径(mm)

  10~1600

10~1600mm

 

代号

按其结构形式细分

 

H

标准孔板(环室)

 

Y

标准孔板(法兰)

 

K

标准孔板(钻孔)

 

I

ISA 1932喷嘴

 

L

长径喷嘴

 

W

文丘利喷嘴

 

G

经典文丘利管

 
S

双重孔板

 

Q

圆缺孔板

 

Z

锥形入口孔板

 

R

1/4圆孔板

 

P

偏心孔板

 

N

整体(内藏)孔板

 

X

楔形孔板

 

T

不在上述之列的特殊节流装置

 

代号

介质

 

1

液体

 

2

气体

 

3

蒸汽

 

4

高温液体

 

代号

补偿形式

 

N

不带压力、温度补偿

 

P

带压力补偿输出

 

T

带温度补偿输出

 

Q

带压力、温度补偿输出

 

代号

变送器差压量程范围

 

0

微差压量程

 

1

低差压量程

 

2

中差压量程

 

3

高差压量程

 

代号

是否带现场显示

 

W

节流装置传感器

 

X

智能节流装置(流量计)

 

代号

供电方式

 

0

外接+24VDC供电

 

1

3.6V电池供电

 

本页产品地址:http://www.geilan.com/sell/show-101244.html
免责声明:以上所展示的[HR-LG 节流孔板]信息由会员[上海华戎自动化科技有限公司]自行提供,内容的真实性、准确性和合法性由发布会员负责。
[给览网]对此不承担任何责任。
友情提醒:为规避购买风险,建议您在购买相关产品前务必确认供应商资质及产品质量!

发布询价单

厂商其他产品

您最近浏览过的产品

没有合适的产品?是否在线询价?
询价标题
联系人
电话
主要内容
验证码