当前位置:给览网 » 供应 » 传感器 » 压力传感器 » 上海云鸥自动化仪表有限公司

605带指示灯气体压差开关原理,带指示灯气体压差开关价格带工作(红)和待机(绿)指示灯是用于探测气体压力、压差的设备,如检测过...
605带指示灯气体压差开关原理,带指示灯气体压差开关价格带工作(红)和待机(绿)指示灯是用于探测气体压力、压差的设备,如检测过滤网阻塞报警装置,检测空调机组中风机的启/停状态,通风管道中气体监测等
· 监测过滤网阻塞报警装置
· 风机运行状态监测
· 通风管道中气体监测
· 控制可变气体容积系统中zui大气流
· 燃烧炉中气体控制

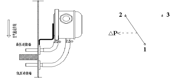
压力连接及接线:压力连接位置标不可接错.
差开关的原理决定(压差开关中有一个非常薄的气膜将内部分为两个腔,如果气膜不是垂直安装而是水
平安装,则气膜本身的自重将影响气体压差检测)。
2. 避免电击或损坏设备,移去上盖时应确保电源开关处于关闭状态。
3. 使用前应完成电线连接并检查连接状态。不正确的连线可能导致此设备性损坏。
4. 在低电流(0.1A或更小)情况下,电压小于30V时,建议在电路上连接一个R.C网络。
5. 使用前应配打塑料管的安装孔,并将“Z型”支架安装在现场(标准配置)。
6. 保证装配面震动zui小或没有震动,开关可以直接固定在管道、加热器或面板上。
7. 压力连接位置标注:+(高压)和 -(低压或静压 )
605带指示灯气体压差开关原理,带指示灯气体压差开关价格指示灯气体压差开关价格
如果您觉得“带指示灯气体压差开关,气体压差开关价格”描述资料不够齐全,请联系我们获取详细资料。(联系时请告诉我从给览网看到的,我们将给您最大优惠!)
本页链接:http://www.geilan.com/com_shyoyb/sell/itemid-1732520.html
已经有2182位访客查看了本页.







