产品简介
产品详情 产品介绍: A28H型带手柄弹簧全启式安全阀
公司简介
上海奥托阀门集团水工业中国事业部(总部设在上海)奥托水工业集团在国内地区的管理机构,下设奥托运营总部、奥托营销总部、奥托研发中心。我公司产品在中国广泛应用于给排水工程;电力工程;建筑工程;水处理工程;化工工程;石化工程;冶金工程;制药工程;以及化肥工程等水工业系统,强化引进装置中的阀门配套,产品畅销全国各地,并远销中东、东南亚、欧美等十多个国家和地区,在众多国家大型重点项目中得到广泛应用。依据奥托阀门集团总部的战略规划,未来 3至 5年的时间里,奥托集团将在中国建立起世界领先的水工业产品制造与物流中心,通过向客户持续并盈利地提供优质水工业产品,我公司坚持将“诚信为本,勇于创新,锐意进取,稳健发展”的经营方针,大力推进技术创新,资本运营,国际化拓展四大战略。成为中国建筑和水务行业最卓越的水工业解决方案的供应商。我们的目标是满足并领先于应用领域的需求、行业标准及顾客的预期。先进的制造设备、高素质的设计团队、完善的产品系列为满足顾客的各类需求提供了可靠的保证,始终将“全方位满足客户的需求”作为生存的基础。我们将提供适用于不同应用领域的水工业产品,并将持续的改进作为从事每一项工作的原动力,通过持续的新产品研发与产品改进,为顾客提供优良的适用产品。
上海奥托阀门有限公司主要生产制造闸阀、球阀、蝶阀、截止阀、止回阀、针型阀、阻火器、排气阀、排泥阀、过滤器、放料阀、隔膜阀、旋塞阀、柱塞阀、平衡阀、调节阀、疏水阀、电磁阀、呼吸阀、管夹阀、气动阀门、电动阀门、高压阀门、中压阀门、低压阀门、高温阀门、高温高压阀门、保温阀门、给排水阀门、真空阀门、不锈钢阀门、衬胶阀门、衬氟阀门、塑料阀门、波纹管阀门、蒸汽阀门、气体阀门、燃气阀门、氨用阀门、美标阀门、日标阀门、德标阀门、进口阀门等。等优秀供应商之一。我公司自创办以来不断以科技创新,主要按中国 GB、JB、美标 API、ANSI、英国 BS、德标 DIN、法国 NF、日本 JIS、JPI 标准生产,并可根据用户特殊要求冶炼和制造。
代理销售进口阀门:德国福林 FRING 进口阀门、日本北泽 KITZ 进口阀门、英国 UK 阀门进口阀门、日本 VENN 阀天进口阀门、日本日立 HITACHI 进口阀门进口阀门主要产品有进口针型阀、进口球阀、进口高压小型球阀、进口截止阀、进口闸阀、进口止回阀、进口旋塞阀、进口过滤器、进口柱塞阀、进口蝶阀、进口平衡阀、进口水力控制阀、进口调节阀,欢迎订购。
上海奥托阀门有限公司始终以质量为本,一切为满足用户的经营理念,不断应用新技术,新工艺、新材料,竭诚为用户提供优质的阀门产品和更加完善的售后服务。奥托阀门科学的管理,成熟的设计,精湛的工艺,精良的设备,精心的加工,精确的检测,以求更加完美。销售以来深受广大用户的良好评价。奥托不求最大,但求最好。您的需要,我们的目标!上海奥托阀门有限公司拥有全球最顶尖的生产设备和技术工程师,有能力按照各国标准以及各种行业标准生产制造优质阀门。欢迎来电咨询、订购。电话:
传真:
手机:
QQ:627811707
联系人:陈杰
展开
产品说明
| 产品详情 |
产品介绍:
A28H型带手柄弹簧全启式安全阀适用于工作温度≤200℃的空气、蒸汽、水、氮氢混合气等介质的设备或管路上,A28Y-P/10R8型带手柄弹簧全启式安全阀适用于工作温度≤200℃有腐蚀性介质的设备或管路上,作为超压保护装置。
应用范围:
A28H带手柄弹簧全启式安全阀适用于工作温度≤200℃的空气、蒸汽、水、氮氢混合气等介质的设备或管路上,A28Y-P型安全阀、A28Y-10R8型带手柄弹簧全启式安全阀适用于工作温度≤200℃有腐蚀性介质的设备或管路上
标准规范:
设计制造标准:GB/T 12243-2005
结构长度标准:GB/T 12221-2005
连接法兰标准:GB/T 9113
压力温度等级:GB/T 12224-2005
试验检验标准:GB/T 13927-2008
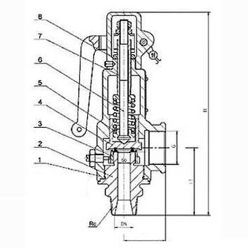
零件材料与工况:

| NO. |
零件名称 |
A28H材料 |
A28Y-P材料 |
A28Y-R8材料 |
| 1 |
阀体 |
HT200 |
ZG1Cr18Ni9Ti |
CF8M |
| 2 |
阀座 |
35 |
ZG1Cr18Ni9Ti |
CF8M |
| 3 |
调节圈 |
2Cr13 |
1Cr18Ni9Ti |
316 |
| 4 |
阀瓣 |
2Cr13 |
1Cr18Ni9Ti |
316 |
| 5 |
弹簧 |
50CrVA |
50CrVA包覆氟塑料 |
50CrVA包覆氟塑料 |
| 6 |
阀杆 |
2Cr13 |
2Cr13 |
316 |
| 7 |
调整螺杆 |
45 |
2Cr13 |
316 |
| 8 |
保护罩 |
ZG200-400 |
ZG200-400 |
CF8M |
| 9 |
密封面材料 |
堆焊D507 |
堆焊Co基硬质合金 |
主要尺寸及重量:
| 公称通径 |
尺寸 |
| do |
Rc |
G |
L |
L1 |
H |
| 15 |
10 |
1/2" |
3/4" |
37 |
62 |
189 |
| 20 |
12 |
3/4" |
1" |
40 |
65 |
196 |
| 25 |
15 |
1" |
11/4" |
45 |
72 |
277 |
| 32 |
20 |
11/4" |
11/2" |
55 |
85 |
312 |
| 40 |
25 |
11/2" |
2" |
67 |
100 |
322 |
| 50 |
32 |
2" |
21/2" |
76 |
112 |
348 |
| 65 |
40 |
21/2" |
3" |
110 |
135 |
370 |
| 80 |
60 |
3" |
4" |
110 |
145 |
410 |
安装说明:
①各种带手柄弹簧全启式安全阀都应垂直安装。
②带手柄弹簧全启式安全阀出口处应无阻力,避免产生受压现象。
③带手柄弹簧全启式安全阀在安装前应专门测试,并检查其官密封性。
④对使用中的带手柄弹簧全启式安全阀应作定期检查。
|
本页产品地址:http://www.geilan.com/sell/show-942930.html

免责声明:以上所展示的[
A28H 带手柄弹簧全启式外螺纹安全阀]信息由会员[
奥托阀门(中国上海)有限公司]自行提供,内容的真实性、准确性和合法性由发布会员负责。
[给览网]对此不承担任何责任。
友情提醒:为规避购买风险,建议您在购买相关产品前务必确认供应商资质及产品质量!