抓斗机电子吊秤,3吨抓斗机电子吊钩秤,5吨抓斗机电子吊磅秤过硬的质量→畅销的理由→贴心的服务→优质的产品→的售后→台强︴专做衡器﹠做好衡器︴【台强电子衡器】24小时服务热线☎: 业务:小邓 ☎: 公司网址:www.tai-qiang.com
| 产品 >> 所有产品 |
| |
 |
产品编号:
|
4211715816 |
|
产品名称:
|
无线大屏幕吊秤 |
|
产品型号:
|
OCS-SZ-TBE |
|
称量范围:
|
1t、2t、3t、5t、10t、15t、20t、30t、40t、50t、80t、100t |
| |
| |
|
|
产 品 说 明
|
抓斗机电子吊秤
|
一:产品功能和特点
无线数传式电子吊秤由秤体和仪表两部分组成。其中,秤体采用了吊秤专用电阻应变式传感器(产品)和高可靠性的传力结构,仪表部分功能、智能化程度高,产品适用于规定量程范围内的称重计量,并具备以下功能:
·大屏幕式无线遥传吊秤由秤体、大屏幕两部分组成,价格低廉,操作方便简洁,特别适合工厂厂内计量
·称量值显示采用6位100mm的LED发光管拼合而成,直观清晰
·具有去皮、暂留、累加、单次累加值查询功能,支持手动累加和自动累加二种方式
·大屏幕AC 220V供电。秤体6V/10AH采用免维护铅蓄电池
·所有操作均采用无线遥控模式
二:主要技术指标和参数
产品执行标准
精度等级:符合标准Ⅲ级 (GB/T11883-2002);
电源:大屏幕AC 220V供电,秤体供电,6V/4AH 铅蓄电池 2 个;
无线电频率:430MHz (32 个频点);
传感器激励电源:DC 5V±5% ;
工作温度:仪表 0℃~40℃,秤体(常温型)-20℃~50℃,(耐热型)常温~70℃
无线电传输距离:(常规型)无阻挡时不小于 150 米,(高功率型)无阻挡不小于 300米;电源情况监测系统
三:抓斗机电子吊秤 适用范例
电子吊秤是一种悬挂式电子秤,要求使用场合必须有电葫芦,一般用于钢铁厂、卷板厂、炼钢厂、开平煎板厂、桥梁厂、重型机械厂、码头等
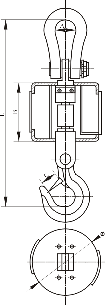
产品图纸:

产品主要尺寸:

|
|
一:上海台强电子衡器有限公司主营:
❶汽车衡:标准式汽车衡、便携式汽车衡、移动式汽车衡、出口式汽车衡、数字式汽
车衡、防爆式汽车衡。
❷电子地磅:单层电子地磅、双层电子地磅、移动式电子地磅、超低台面电子地磅、
手动液压式电子地磅、不锈钢电子地磅、防爆电子地磅、信号输出电子地磅、可连电
脑电子地磅、带打印电子地磅、缓冲电子秤、动物电子秤、U形电子秤、条形电子秤。
❸电子吊秤:直视电子吊秤、无线电子吊秤、防爆电子吊秤、直视耐高温电子吊秤、
无线耐高温电子吊秤。
❹数字式测力仪:小吨位测力仪,大吨位测力仪,无线数传测力仪。
❺电子叉车秤:宽叉电子秤、窄叉电子秤、带打印电子叉车秤、防爆电子叉车秤、不
锈钢电子叉车秤。
❻液压叉车:手动液压车、不锈钢手动液压叉车、搬运车电子秤。
❼电子台秤:计重电子台秤、计数电子台秤、带打印电子台秤、连电脑电子台秤、带
4-20mA电流信号输出电子台秤、报警电子台秤、防爆电子台秤、不锈钢电子台秤、移
动式电子台秤、机械台秤。
❽电子桌秤:计重电子桌秤、计数电子桌秤、报警电子桌秤、不锈钢电子桌秤、条码
打印计价电子桌秤。
❾电子天平:电子天秤、全进口电子天平、大称量电子天平。
❿客户服务承诺:
凡购买我司产品均享有:送货上门,安装调试,1年保修。在保修期
内,您只需要一个,我们会在短的时间迅速排除故障,并定期对设备进行保养
、维护。(因电子秤规格型号比较多、所以具体价格请来电咨询)
二、售后服务:
我司拥有专业的技术人员从事各类计量衡器/仪器的技术维修服务,并建立了专
门的维修服务队伍,能提供给客户更好更及时的维修和售后服务。
1:产品保修期为十二个月,终身维护服务!
2:对于使用中的技术问题,用户应将情况写明并至上海台强电子科技有限公司处
,以得到及时准确的答案;或拨打服务。
3:所有技术咨询均服务。
4:对于本市用户,一般问题30分钟内响应解决:
5:对于异地用户,一般问题4小时内响应解决;
6:7*24小时服务热线:
:
:
QQ:287347127
邮箱:
:邓先生 顺祝 商祺!
如需了解更多产品信息请进网站: http://www.tai-qiang.com