| 提交询价信息 |
| 发布紧急求购 |
价格:电议
所在地:江苏 淮安市
型号:AKT-LZ
更新时间:2016-01-26
浏览次数:1624
公司地址:江苏省金湖县神华大道361号
![]()
李经理(先生) 经理
江苏爱克特仪表有限公司坐落于美丽的运河之滨———淮安,东接扬州,南邻省会南京,宁连高速贯穿境内,地理位置十分优越,交通便利。公司本着“质量至上,服务完善”的宗旨、以技术创新为企业的发展动力,以完善的售后服务体系为产品拓展市场的保证,通过采用新技术、新工艺,向用户提供了质量可靠、性能优越的产品。
公司将以优质的产品、优良的服务积极服务于市场,竭诚与各界朋友,新老客户诚信合作,共创辉煌。
1.公司使命:诚信服务行业用户,提升国产自动化仪器仪表竞争力。
2.公司宗旨:科技创新,敢于天下试争先
3.管理理念:职业化、规范化、高效化
4.营销理念:以客户为导向,以细致周到的服务满足并超越客户的期望,让客户有愉悦的感觉。
5.产品理念:性能超稳、操作方便、功能超前、价格超值。
6.人才理念:德才兼备,品德为先,共同成长,让想干事的人有机会,让能干事的人有舞台,干成事的人有地位有待遇。
“科技保障品质,创新推动发展,诚信编织未来”,“江苏爱克特”秉承着自己的坚定信念,开创了一条适合自身特色的发展道路。继往开来,我们坚信,“江苏爱克特”的前途必将是充满鲜花和笑脸的阳光大道!
玻璃转子流量计
玻璃转子流量计主要用于化工、石油、轻工、医药、化肥、化纤、食品、染料、环保及科学研究等各个部门中,用来测量单相非脉动(液体或气体)流体的流量。
耐腐蚀型流量计主要用于有腐蚀性液体、气体介质流量的检测,例如强酸(氢氟酸除外)、强碱、氧化剂、强氧化性酸、有机溶剂和其它具有腐蚀性气体或液体介质的流量检测。
LZB型的测量锥管使用光滑锥形玻璃管,LZJ型使用带筋锥形玻璃管。

特点
原理与结构
流量计的主要测量元件为一根垂直安装的下小上大锥形玻璃管和管内可上下移动的浮子。当流体自下而上流经锥形玻璃管时,在浮子上下之间产生压差,浮子在此差压作用下上升。当此上升的力、浮子所受的浮力及粘性升力与浮子的重力相等时,浮子处于平衡位置。因此,流经流量计的流体流量与浮子上升高度,即与流量计的流通面积之间存在着一定的比例关系,浮子的位置高度可作为流量量度。

型号规格及技术指标


注: 玻璃转子流量计液体流量均以20℃清水标定刻度,气体流量均以20℃、101325Pa空气标定刻度。
根据用户需要,可以做特殊流量的流量计,DN100通径zui大水流量可达120m3/h,zui大气流量可达3500m3/h,
也可进行特殊修正标定.

注: 公称通径≤10mm以下耐腐型需定做,一般不带针型调节阀。
根据用户要求,可以生产高一级精度的耐腐型流量计。

注:该系列为水表校验装置专用,也可用于其它场合,可以做全不锈钢型:LZB-□□S/B(或B0),不能做耐腐型。流量计与被测介质接触部分材料

注:所有通径流量计锥形玻管材料为高硼硅质玻璃。(下同)
全不锈钢型 LZB-□□B 或 LZB-□□B0
法兰或基座及阀针、浮子及导杆、支承板、罩壳及螺栓等均为不锈钢 1Cr18Ni9Ti,型号为LZB-□□B,
如过流材质选用不锈钢0Cr18Ni12Mo2Ti(316),则需选LZB□□B0,需定做。
耐腐型 LZB-□□F 或 LZB-□□F/B
DN2~10采用PTFE基座,DN15~100采用铸铁法兰内衬PTFE,型号为LZB-□□F。
DN15~100如要采用不锈钢(304或316)法兰内衬PTFE,则为全不锈钢耐腐型。型号为LZB-□□F/B(或B0)需定做。
注:公称通径≤10mm以下,普通耐腐型可采用全不锈钢材质,如果测量强腐蚀性介质,则基座和密封材料采用聚四氟乙烯,支承板采用不锈钢,一般不能带针阀,并需定做。
外形结构及尺寸
公称通径为DN2,3,4,6,10的流量计外形图及尺寸

1—流出嘴 2—上基座 3—上压紧帽
4—锥形玻璃管 5—有机玻璃壳 6—支承板
7—浮子 8—下压紧帽 9—下基座
10—流入嘴 11—针形阀
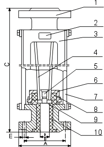
公称通径为DN15,25,40,50,80,100的流量计外形图及尺寸

1— 基座(法兰) 2—标牌 3—罩壳
4—锥形玻管 5—浮子 6—压盖
7—支承板 8—密封圈 9—止档 10—衬套

注:配套使用时,我公司可按用户要求,对流量计外形及结构尺寸进行变动,特殊设计。
DN2~DN10可按美标NPT螺纹定做。DN15~DN100如果需采用美标ANSI法兰,则只能做全不锈钢系列。
型号选择及说明
普通型:主要适用于无腐蚀性介质的测量
耐腐型:主要适用于腐蚀性介质的测量。
全不锈钢型:主要适用于卫生型及弱腐蚀性介质测量,能抗使用环境中的腐蚀性气体。
不锈钢耐腐型:主要适用于强腐蚀性介质测量,能抗使用环境中的腐蚀性气体。

免责声明:以上所展示的[AKT-LZ 玻璃管转子流量计]信息由会员[江苏爱克特仪表有限公司]自行提供,内容的真实性、准确性和合法性由发布会员负责。