| 提交询价信息 |
| 发布紧急求购 |
价格:电议
所在地:江苏 淮安市
型号:XD-LUCB
更新时间:2024-05-27
浏览次数:1336
公司地址:江苏省
![]()
居风梅(女士)
球阀插入式涡街流量计是插入到被测管道中心,测量管道中心流速来计算被测管道流量的大口径流量计。若在管道的插入口安装球阀,则可以进行涡街流量计的不断流拆卸,在脏污介质中运行时便于定期清洗和维修。仪表参数能长期稳定。采用压电应力式传感器,可靠性高,可在-20℃~+250℃的工作温度范围内工作。有模拟标准信号,也有数字脉冲信号输出,容易与计算机等数字系统配套使用,是一种比较、理想的流量仪表。

球阀式大管径蒸汽流量计工作原理:
球阀插入式涡街流量计的涡街测量头(即小口径涡街流量传感器)是利用“卡门涡街”原理研制而成.在涡街测量头表体中,垂直的插入一根三角柱即旋涡发生体,当表体中有介质流过时,则在三角柱的两侧交替的产生方向相反有规则的卡门涡街,其旋涡的信号频率是由压电元件制成检测头,检测出来一侧旋涡的分离频率与介质的流动速度成正比,见公式 f=V*St/1-1.27d/D
式中: f-三角柱一侧旋涡分离频率,(Hz);
St-斯特罗哈系常数;
V--管道内平均流速,(m/s);
d--三角柱特征宽度,(m);
D--测量头内径,(m)。
通过大量的实验测试,确定涡街测量头的仪表系数K.公式如下:
K0=f/V点
式中:K0-测量头仪表系数,(1/m);
V点-测量头所在点处的速度,(m/s).
根据流速V与管道内流量的关系,可以确定插入式涡街流量传感器在不同管道下的仪表系数KT(1/m3),从而确定管道内平均流速和体积流量。
球阀式大管径蒸汽流量计应用范围:
球阀插入式涡街流量计适用于石油、化工、冶金、热力、纺织、造纸等行业对过热蒸汽、饱和蒸汽、压缩空气和一般气体(氧气、氮气氢气、天然气、煤气等) 、水和液体(如:水、汽油、酒精、苯类等)的计量和控制。
球阀式大管径蒸汽流量计独特:
1、采用数控设备加工传感器的表体和旋涡发生体等,确保加工精度,从而使零部件(特别是旋涡发生体)的通用性强,从而真正做到不会因零部件的更换而影响传感器的重复性和精度;能产生强大而稳定的涡街信号;
2、散热器结构采用横放型结构,比采用竖放型散热器结构的流量计,更少的将热量传递到放大部分,而且散热面积大,散热更快,使传感器的可靠性更高,寿命更长;
3、通过长时间对涡街流量计进行的大量波形分析和频谱分析,设计出了理想的探头形状、壁厚,高度、探头杆直径及与之相配套的压电晶体,采用的数控车床进行加工,确保加工的同轴度和光洁度等精度,配合特殊的工艺处理,从而克服涡街流量计存在的固有自振荡频率对信号的影响这个通病。这是我公司在制作涡街流量计方面的技术独特。
球阀式大管径蒸汽流量计主要特点:
1、采用微功耗高新技术,科技含量高,性能稳定,精度高,寿命长,技术及部件均为进口。
2、结构简单而牢固,无可动部件,可靠性高,长期运行十分可靠
3、抗震性能好,零点无漂移,有效消除外界振动影响。
4、输出是与流量成正比的脉冲信号,无零点漂移,
5、测量范围宽,量程比可达10:1。
6、现场液晶显示,同时瞬时流量显示、累计总量显示、百分比显示、频率显示、不必轮流切换。
7、就地按键设置,方便参数调整,无需手持通讯器。
8、 压力损失较小,动态测量范围宽,运行费用低,节能。
9、密度计算、温度、压力补偿计算,补偿计算公式在线检验。
10、0-5KHZpinlv输出、4-20MA输出或HATR通讯、Modbus协议通讯,可与工业自动化系统连接。
11、根据现场要求可将传感器与仪表分离,实行分体控制与远程控制。

球阀式大管径蒸汽流量计参数规格:
1、公称通径(mm):DN300~2200插入式);
2、公称压力(MPa):1.6-4.0;
3、介质温度(℃):压电式:-40-450℃(协议订货);
4、本体材料:1Cr18Ni9Ti,(其它材料协议供货);
5、度:±1%R,±1.5%R,±1FS;插入式:±2.5%R,±2.5%FS;
6、供电电压:传感器:+12V DC,+24V DC;变送器:+24V DC;电池供电型:3.6V电池;
7、输出信号:方波脉冲(不包括电池供电型):高电平≥5V,低电平≤1V;电流:4~20mA;
8、防爆标志:本安型:ExdⅡia CT2-CT5隔爆型:ExdⅡCT2-CT5;
9、防护等级:普通型IP65;
10、环境条件:温度-20℃~55℃,相对湿度5%~90%,大气压力86~106kPa;
11、适用介质:气体、液体、蒸汽;
12、传输距离传感器:长可达4km,两线制变送器(4~20mA):负载电阻≤750Ω。
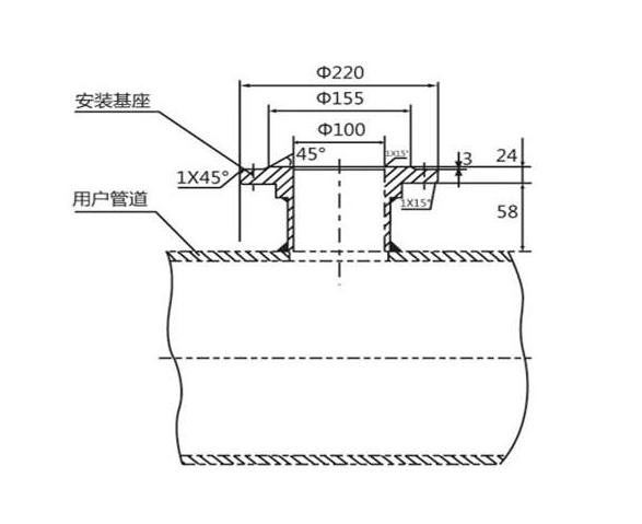
球阀式大管径蒸汽流量计安装方法:
将涡街测量头插入管道特定位置,通过测量该位置的局部流量,根据管道截面流速分布关系,计算出管道内平均流速值。它由转换器、插入杆组件、球阀( 根据需求配 )、安装短管(ф100)、涡街测量头等组成。



安装步骤:
1、在需要安装流量计的管道正上方(水平管道有此要求),割开 一个略小于ф100的孔,去掉毛刺;
2、将配套的一端带有法兰的短管放在孔的上面,保持短管与管 道垂直,焊接牢固;
3、放上垫片,插入流量计,法兰连接,若此时有球阀,应先将球阀放在短管上连接好,再打开球阀,插入流量计;
4.保证流量计前有大于15D和后有5D的直管段(D为管道内径)。
球阀式大管径蒸汽流量计调试使用期间需要注意的问题:
1、流量计现场安装、维护必须遵守“有防爆性气体时勿开盖"的警告语,并在开盖前关掉外电源。
2、涡街流量计在室外使用时,建议加配防护罩。
3、不得随意松开流量计固定部分。压力传感器的保护。用户在使用流量计时,应注意流量计的压力过载值为压力传感器额定工作压力的1.5倍(即介质zui高压力的1.5倍)。选型应在规定的流量范围内,防止超速运行,以获得理想的准确度和保证正常使用寿命。(由于试压、吹扫管道或排气造成超速运转,以及涡轮在反向流中运转都可能导致流量计损坏)
4、涡街流量计投入运行时应缓慢开启阀门,防止瞬间气流冲击而损坏涡轮。加润滑油应按告示牌操作,加油的次数依气质洁净程度而定,通常每年2~3次。
5、涡街流量计运行时不允许打开后盖或更动内部有关参数,否则将影响流量计的正常运行。
球阀式大管径蒸汽流量计参数对照表:
| 公称通经(mm) |
250~1500 |
|
仪表材质 |
1Cr18Ni 9Ti |
|
公称压力(Mpa) |
PN1.6Mpa;PN2.5Mpa |
|
被测介质温度(℃) |
-40~+250℃ |
|
环境条件 |
温度-10~+55℃,相对湿度5%~90%,大气压力86~106Kpa |
|
精度等级 |
示值的±2.5% |
|
量程比 |
1:10;1:15 |
|
阻力损失系数 |
Cd<2.6 |
|
输出信号 |
传感器:脉冲频率信号0.1 ~ 3000Hz 低电平≤1V 高电平≥6V |
|
供电电源 |
传感器:、+24VDC |
|
信号传输线 |
KVVP3×0.3(三线制),2×0.3(二线制) |
|
传输距离 |
≤500m |
|
信号线接口 |
内螺纹M20×1.5 |
|
防爆等级 |
ExdIIBT6 |
|
防护等级 |
IP65 |
|
允许振动加速度 |
1.0g |
球阀式大管径蒸汽流量计流量范围:
|
代码 |
公称通径 (mm) |
流量范围(m3/h) |
||
|
液 体 |
气 体 |
蒸 汽 |
||
|
XD-LUCB |
250 |
100~1000 |
1000~8000 |
930~8000 |
|
XD-LUCB |
300 |
150~1500 |
1500~11500 |
1330~11440 |
|
XD-LUCB |
350 |
200~2000 |
2000~15600 |
1800~15600 |
|
XD-LUCB |
400 |
250~2500 |
2500~20000 |
2400~20000 |
|
XD-LUCB |
500 |
400~4000 |
4000~30000 |
3700~31800 |
|
XD-LUCB |
600 |
500~5000 |
5000~45000 |
5300~45800 |
|
XD-LUCB |
700 |
700~7000 |
7000~60000 |
7300~62300 |
|
XD-LUCB |
800 |
900~9000 |
9000~80000 |
9500~81400 |
|
XD-LUCB |
1000 |
1400~14000 |
14000~120000 |
14800~127200 |
球阀式大管径蒸汽流量计选型型谱:
|
代号 |
口径 |
插入式涡街流量计(江苏先达仪表有限公司) |
|||
|
XD-LUCB 020 |
200mm |
|
|||
|
XD-LUCB 025 |
250mm |
|
|||
|
XD-LUCB 030 |
300mm |
|
|||
|
XD-LUCB 035 |
350mm |
|
|||
|
XD-LUCB 040 |
400mm |
|
|||
|
XD-LUCB 045 |
450mm |
|
|||
|
XD-LUCB 050 |
500mm |
|
|||
|
-------- |
-------- |
|
|||
|
XD-LUCB 0200 |
2000mm |
|
|||
|
|
代号 |
功能1 |
|||
|
N |
无温压补偿 |
||||
|
Y |
有温压补偿 |
||||
|
|
代号 |
输出型号 |
|||
|
F1 |
4-20mA输出(二线制) |
||||
|
F2 |
4-20mA输出(三线制) |
||||
|
F3 |
RS485通讯接口 |
||||
|
|
代号 |
被测介质 |
|||
|
J1 |
液体 |
||||
|
J2 |
气体 |
||||
|
J3 |
蒸汽 |
||||
|
|
代号 |
功能2 |
|||
|
E |
2.5级 |
||||
|
T1 |
常温 |
||||
|
T2 |
高温 |
||||
|
T3 |
蒸汽 |
||||
|
P1 |
1.6MPa |
||||
|
P2 |
2.5MPa |
||||
|
P3 |
4.0MPa |
||||
|
D1 |
内部3.6V供电 |
||||
|
D2 |
DC24V供电 |
||||
|
B1 |
不锈钢 |
||||
|
B2 |
碳钢 |
||||
球阀式大管径蒸汽流量计订货须知:
1、确认被测介质的工况条件:压力(Mpa)、温度(°)、密度(p)等。
2、确认被测介质的流量范围(m3/h),确认zui小流量值并确定仪表口径(DN)。
3、如有特殊要示,请与我公司销售部联系,确认选型的准确性。
球阀式大管径蒸汽流量计售后服务:
1、从合同签订之日起,我公司对所提供的产品提供保养及维护服务,承诺终生维修服务;
2、江苏先达仪表有限公司的销售经理将定期与客户联系,了解产品的使用情况,并解决客户使用过程中产生的问题,无偿提供技术支持;
3、保修期内出现人为的损坏,我公司负责进行维修,并收取由此产生的维修费用;
4、产品出现质量问题或对产品不满意,用户可以无条件的选择退换货,我公司不收取任何的手续费,出现质量问题,承担来回的运费。
免责声明:以上所展示的[XD-LUCB 球阀式大管径蒸汽流量计]信息由会员[江苏先达仪表有限公司]自行提供,内容的真实性、准确性和合法性由发布会员负责。