| 提交询价信息 |
| 发布紧急求购 |
价格:电议
所在地:江苏 苏州市
型号:OCS
更新时间:2016-01-23
浏览次数:1700
公司地址:吴中经济开发区石湖西路
![]()
程先生(先生) 业务经理

全钢结构外壳、耐碰撞、抗电磁干扰
·秤体内采用了本公司产品LN吊秤专用传感器
·无线数传距离无阻挡时大于100m,自带信号强度,电源情况监测系统
·工作温度可根据用户要求定制常温型-15℃~55℃耐热型常温~80℃
·仪表采用6V/4Ah镍氢可充电电池供电
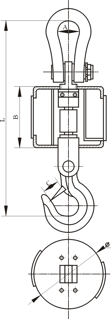
| 产品图纸: |
|
|

免责声明:以上所展示的[OCS 无线吊秤]信息由会员[苏州联众电子衡器有限公司]自行提供,内容的真实性、准确性和合法性由发布会员负责。