公司简介
江苏博远自动化仪表有限公司创建于1988年,是原国家机电部定点生产流量仪表、温度仪表、压力仪表、校验仪表的国家二级企业。企业生产的热工仪表、压力仪表、标准校验仪表、数控仪表、流量仪表广泛使用在石油、化工、电力、冶金、科研以及国防等行业的自动化控制过程中,深受用户欢迎。
企业视信誉为生命,坚持全心全意为顾客服务的方针,连续十年获市级“重合同,守合同"企业,市级“文明单位"、“工商免检企业"等荣誉。
企业以产品质量求生存,建立了比较完善的质量保证体系,配备了先进的生产、检测设备和检测手段,2001年2月通过了ISO9002∶1994质量保证体系国际认证。2005年6月顺利通过ISO9001∶2000标准质量体系认证。
我公司被列为星火科技带龙头企业以来,先后承担了国家星火计划“BY-C就地显示仪"、“BY系列数据采集仪"、“BY-SM智能点差巡检报警控制仪"、“BY2000压力仪表自动校验系统、BYC2000标准压力校验仪"等项目的实施。BY2000压力仪表自动校验系统、AD-C就地显示仪被认定为“江苏省高新技术产品"。“智能自标定电容式料(物)位仪"被列为国家重点新产品。通过多年来的项目实施,企业走出了一条科技创新的发展之路,不仅结识了众多科技合作伙伴,而且还培养了一批具有开拓创新的科技人才;产品的技术含量逐步提高,目前已具有与国际先进水平相竞争的能力。企业被认定为“江苏省高新技术企业"、“江苏省民营科技型企业"、“淮安市仪器仪表工程技术研究中心"。几年来的成功收获使博远人更加体会到"科学技术是第一生产力"这一真缔。
我们本着质量第一,服务第一,诚信第一的宗旨。愿与客户携手,与科技同行,以全新的营销策略,走向更广阔的市场。
展开
产品说明
| |
用途 |
| |
| BY-1151LT液位变送器是一种直接安装在管道或容器上的现场变送器。由于隔离膜片直接与液体介质相接触,无须将正压侧用导压管引出,因此可以测量高温、高粘度、易结晶、易沉淀和强腐蚀等介质的液位、压力和密度,然后将其转换成4~20mA.DC信号输出。LT型液位变送器采用标准的法兰进行安装联接。 |
|
| 二、 |
通用技术性能和参数 |
| |
输出信号:4~20MA.DC二线制(模拟)
二线制4~20mA直流信号上叠加数字信号,由用户选择线性或开方输出。(智能)
供电电源:12~45V.DC(详见负载特性图)
负载特性: |
|
| |
电源影响:<0.005%/V
负载影响:电源稳定时,无负载影响。
测量精度:调校量程的±0.2%,±0.25%,±0.5%
(标配精度为±0.5%,若选择其他精度请在订货选
型时注明。)
迁移特性:zui大正迁移量500%
zui大负迁移量600%
注:① 负迁移量的值,不大于一个工程大气压。
② 迁移后的上限或下限值,均不应超过zui大测量范围的上限值。
③ 差压流量变送器迁移会破坏开方特性,故不能进行迁移。
④ 压力变送器不能进行负迁移。 |
 |
|
| |
阻 尼:通常可在0.2~1.67秒之间可调,当灌充惰性液或带远传装置时,时间常数会增大。
启动时间:<2秒,不需预热
工作环境:环境温度 -29~93℃(模拟放大器)
-29~75℃(数字/智能放大器)
-29~65℃(带显示表头)
环境湿度 0~95%
防护特性:防护能力 IP65
防爆类型:隔爆型 Exd II BT4-6
本安型 Exia II CT5
静压影响:DP类零位误差:对于14MPa,±0.1%zui大量程限值或±0.25%zui大量程限值(量程代号为3),在管道压力下通过调零给予校正。
HP类零位误差:±0.5%zui大量程限值,对于32MPa在管道压力下通过调零给予校正。
电磁辐射影响:0.05%zui大量程值,接受辐射频率27~500MHz,试验场强3V/m。
指示表(%):电流表 标尺长44.5mm 精度±2%
液晶数显 精度±0.2%
振动影响:任何方向200Hz振动时,±0.05%/g。
安装位置:膜片未垂直安装,可能产生小于0.24KPa的零点误差,但可通过调零来消除。
重 量:5.4Kg(不包括附件) |
|
| 三、 |
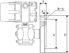
典型产品外形尺寸 |
| |
|
| |
|
| |
|
法兰规格
|
外形尺寸
|
安装尺寸
|
插入筒尺寸
|
|
代号
|
通径
|
压力等级
|
外径
D
|
凸面直径
d
|
厚度
A
|
凸面高
f
|
分布圆
K
|
螺孔数
n
|
直径
h
|
螺栓
f
|
直径
B
|
凸出长度
L
|
|
2A1
|
2"
|
150Lb
|
Φ152
|
Φ92
|
23
|
5.5
|
Φ120.6
|
4
|
Φ19
|
M16
|
暂供Φ60
|
0 (0")
50 (2")
100(4")
150(6")
200(8")
250(10")
|
|
2A3
|
300Lb
|
Φ165
|
26
|
Φ127
|
8
|
|
2A6
|
600Lb
|
31
|
|
2D1
|
DN50
|
PN10/16 bar
|
Φ99
|
21
|
Φ125
|
4
|
|
2D3
|
PN25/40 bar
|
23
|
|
2D6
|
PN64 bar
|
Φ180
|
29
|
Φ135
|
Φ23
|
M20
|
|
3A1
|
3"
|
150Lb
|
Φ191
|
Φ127
|
27.5
|
Φ152.4
|
Φ19
|
M16
|
Φ77
|
|
3A3
|
300Lb
|
Φ210
|
32.5
|
Φ168.3
|
8
|
Φ23
|
M20
|
|
3A6
|
600Lb
|
37.5
|
|
3D1
|
DN80
|
PN10/16 bar
|
Φ200
|
Φ132
|
23
|
Φ160
|
Φ19
|
M16
|
|
3D3
|
PN25/40 bar
|
26.5
|
|
3D6
|
PN64 bar
|
Φ215
|
32.5
|
Φ170
|
Φ23
|
M20
|
|
4A1
|
4"
|
150Lb
|
Φ229
|
Φ157
|
28
|
Φ190.5
|
Φ19
|
M16
|
Φ95
|
|
4A3
|
300Lb
|
Φ254
|
33.5
|
Φ200
|
Φ23
|
M20
|
|
4A6
|
600Lb
|
Φ273
|
43.5
|
Φ216
|
Φ25
|
M22
|
|
4D1
|
DN100
|
PN10/16 bar
|
Φ220
|
Φ166
|
23
|
Φ180
|
Φ19
|
M16
|
|
4D3
|
PN25/40 bar
|
Φ235
|
28.5
|
Φ190
|
Φ23
|
M20
|
|
4D6
|
PN64 bar
|
Φ250
|
34.5
|
Φ200
|
Φ27
|
M24
|
|
| 四、 |
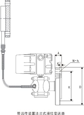
JY-1151LT型法兰式液位变送器 |
| |
| 代号 测量范围 (KPa) |
|
3
4
5
6
|
0 - 1.3
0 - 6.2
0 - 31.1
0 - 117
|
~ 7.5
~ 37.4
~ 186.8
~ 689.5 |
注:量程代号为3时,宜配用通径4"或DN100法兰。 |
|
| |
| 代号 输出形式 |
|
E
SF
S
|
4~20mA.DC 模拟放大器,线性输出
4~20mA.DC 数字放大器,带4位LCD数字或3 LED显示
4~20mA.DC 智能放大器,并采用HART协议通讯 |
|
| |
| 代号 负压侧容室和接头材质 排气/排液阀材质 隔离膜片材质 |
12 碳钢 316钢 316L钢
22 316钢 316钢 316L钢
23 316钢 316钢 哈氏合金C
24 316钢 316钢 蒙耐尔合金
25 316钢 316钢 钽
33 哈氏合金C 哈氏合金C 哈氏合金C
35 哈氏合金C 哈氏合金C 钽 |
|
| |
| 代号 正压侧隔离膜片材质 接液密封面材质 |
A 316L钢
B 哈氏合金C 平法兰式与远传膜片
C 钽 相同材料
N 镍200
V 蒙耐尔合金 凸法兰式均为316钢
H 钛 |
|
| |
| 代号 安装法兰通径 |
2 通径2"或DN50
3 通径3"或DN80
4 通径4"或DN100 |
|
| |
| 代号 安装法兰标准 |
|
A ANSI或HG20615
D DIN和HG20592 |
注:供货产品的密封面为RF型突面式。
根据需要可提供:MFM型凹凸面式、TG型榫槽面式、或RJ型环连接面式。 |
| 代号 压力等级 |
1 150Lb或PN10/16bar
3 300Lb或PN25/40bar
6 600Lb或PN64bar |
|
|
| |
| 代号 灌充液 |
L 低粘度硅油 -60~150℃ ρ=0.93
S 普通硅油 -45~250℃ ρ=0.96 |
|
| |
| 代号 膜片凸出长度(mm) |
0 0(平膜片形式)
2 50(2")
4 100(4")
6 150(6")
8 200(8")
10 250(10") |
注:可供非系列长度。 |
|
| |
| 代号 选用件 |
S 负压侧带一个远传装置
M1 线性指示表 0~100%刻度
M3 数显指示表 4位LCD数字或3 LED显示
d 隔爆型,防爆标志ExdⅡBT4-6
I 本安型,防爆标志ExiaⅡCT5 |
注:“□" 内填入毛细管长度代号:05(1.5米)、10(3米)或15(4.5米),一般负压侧提供扁平式。
|
|
| |
|
| |
| BY-1151LT 4 E 23 B 3 A 1 L 0 S15 M1 0~25KPa 选型举例 |
| |
|
本页产品地址:http://www.geilan.com/sell/show-113399.html