| AL-670 交流电流电压表 |
|
交流电流电压表
> 测量交流电流或电压,动铁式结构(电磁系),指示真有效值。代表符号T型。
> ● 准确度等级为1.5级,★ 为2.5级直接接通。
> 符合GB/T7676-1998, IEC60051, IEC61010标准
我们产品的优点
> 可更换标度盘
打开封口条,插入或抽出标度盘。交流电流表只要互感器次级电流相同,不同的规格、刻度线分档相同。就可以更换标度盘时,准确度不变。
| 交流电流电压表 |
AL-60
|
AL-80
|
AL-670
|
| 面框尺寸 mm |
60×60 |
80×80 |
60×70 |
| 开孔尺寸mm |
∮48 |
∮55 |
∮48 |
| 交流电流 |
|
|
|
| 范围mA |
|
|
|
| 50mA 100mA 150mA 200mA |
● |
● |
● |
| 400mA 500mA 600mA 800mA |
| 范围A |
|
|
|
| 1A 5A 1OA 15A 20A |
● |
● |
● |
| 25A |
★ |
★ |
★ |
| 30A 40A 60A |
★ |
★ |
★ |
| 配电流互感器X/ 1 A,,X/5 A |
● |
● |
● |
| 上述规格常规为2倍过载,可定制1倍(无过载)、1.5倍、2倍、3倍、等电流过载。 |
| 交流电压 |
|
|
|
| 范围V |
|
|
|
| 10V 25V 40V 60V 1OOV |
● |
● |
● |
| 150V 250V 300V 450V 500V |
| 配电压互感器 |
● |
● |
● |
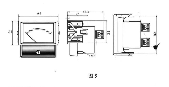
外形图与尺寸 
方(矩)圆形仪表尺寸系列
| Type |
Unit
|
A1 |
A2 |
B1 |
B2 |
Dmas |
L
|
| AL-80 |
MM |
80 |
80 |
64 |
64 |
∮47.5 |
24.65 |
| In |
3.15 |
3.15 |
2.52 |
2.52 |
∮1.87 |
0.97 |
| AL-670 |
MM |
68.5 |
57.5 |
48 |
48 |
∮46.8 |
21.8 |
| In |
2.7 |
2.26 |
1.89 |
1.89 |
∮1.84 |
0.86 |
| AL-60 |
MM |
61 |
61 |
48 |
48 |
∮46.3 |
21.45 |
| In |
2.4 |
2.4 |
1.89 |
1.89 |
∮1.82 |
0.84 |
方(矩)圆形仪表卡式面框尺寸
| Type |
Unit
|
A1 |
A2 |
B1 |
B2 |
C
|
| AL-80 |
MM |
51.6 |
87.5 |
48.4 |
84.2 |
36.4 |
| In |
2.03 |
3.44 |
1.91 |
3.31 |
1.43 |
| AL-670 |
MM |
38 |
75.5 |
35 |
73 |
35 |
| In |
1.50 |
2.97 |
1.38 |
2.87 |
1.38 |
| AL-60 |
MM |
41 |
67.6 |
37.8 |
64.6 |
35 |
| In |
1.61 |
2.66 |
1.49 |
2.54 |
1.38 |
|
电流表 电压表 AL670-600A SD670-1A SD670-2A SD670-3A SD670-5A SD670-10A SD670-15A SD670-20A SD670-30A SD670-50A SD670-75A SD670-100A SD670-150A SD670-200A SD670-250A SD670-300A SD670-400A SD670-500A SD670-600A SD670-750A SD670-800A SD670-AC DC SD670-30/5A SD670-50/5A SD670-75/5A SD670-100/5A SD670-150/5A SD670-200/5A SD670-250/5A SD670-300/5A SD670-400/5A SD670-500/5A SD670-600/5A SD670-750/5A SD670-800/5A SD670-5V SD670-10V SD670-15V SD670-20V SD670-30V SD670-50V SD670-75V SD670-100V SD670-150V SD670-250V SD670-300V SD670-450V SD670-500V SD670-600V 电流表 电压表 AL670-600A SD670-1A SD670-2A SD670-3A SD670-5A SD670-10A SD670-15A SD670-20A SD670-30A SD670-50A SD670-75A SD670-100A SD670-150A SD670-200A SD670-250A SD670-300A SD670-400A SD670-500A SD670-600A SD670-750A SD670-800A SD670-AC DC SD670-30/5A SD670-50/5A SD670-75/5A SD670-100/5A SD670-150/5A SD670-200/5A SD670-250/5A SD670-300/5A SD670-400/5A SD670-500/5A SD670-600/5A SD670-750/5A SD670-800/5A SD670-5V SD670-10V SD670-15V SD670-20V SD670-30V SD670-50V SD670-75V SD670-100V SD670-150V SD670-250V SD670-300V SD670-450V SD670-500V SD670-600V 电流表 电压表 AL670-600A SD670-1A SD670-2A SD670-3A SD670-5A SD670-10A SD670-15A SD670-20A SD670-30A SD670-50A SD670-75A SD670-100A SD670-150A SD670-200A SD670-250A SD670-300A SD670-400A SD670-500A SD670-600A SD670-750A SD670-800A SD670-AC DC SD670-30/5A SD670-50/5A SD670-75/5A SD670-100/5A SD670-150/5A SD670-200/5A SD670-250/5A SD670-300/5A SD670-400/5A SD670-500/5A SD670-600/5A SD670-750/5A SD670-800/5A SD670-5V SD670-10V SD670-15V SD670-20V SD670-30V SD670-50V SD670-75V SD670-100V SD670-150V SD670-250V SD670-300V SD670-450V SD670-500V SD670-600V 电流表 电压表 AL670-600A SD670-1A SD670-2A SD670-3A SD670-5A SD670-10A SD670-15A SD670-20A SD670-30A SD670-50A SD670-75A SD670-100A SD670-150A SD670-200A SD670-250A SD670-300A SD670-400A SD670-500A SD670-600A SD670-750A SD670-800A SD670-AC DC SD670-30/5A SD670-50/5A SD670-75/5A SD670-100/5A SD670-150/5A SD670-200/5A SD670-250/5A SD670-300/5A SD670-400/5A SD670-500/5A SD670-600/5A SD670-750/5A SD670-800/5A SD670-5V SD670-10V SD670-15V SD670-20V SD670-30V SD670-50V SD670-75V SD670-100V SD670-150V SD670-250V SD670-300V SD670-450V SD670-500V SD670-600V
如果您觉得“交流电流表AL670-600A SD670-600A”描述资料不够齐全,请联系我们获取详细资料。(联系时请告诉我从给览网看到的,我们将给您最大优惠!)
本页链接:http://www.geilan.com/com_yutai0200/sell/itemid-193691.html
已经有3920位访客查看了本页.