| 提交询价信息 |
| 发布紧急求购 |
价格:电议
所在地:江苏 淮安市
型号:
更新时间:2012-06-25
浏览次数:1851
公司地址:江苏省金湖县大兴工业园东阳路116号
![]()
於正霞(先生)
|
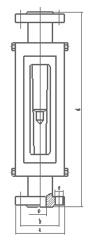
| 一、产品特点: ?国内统设通用性强、结构简单、维修方便。 ?分段计量、测量范围灵活、可测微小流量。 ?测体材质多样、可测腐蚀性介质。 ?DN10口径以下带调节阀,方便用户。 二、技术参数: 公称口径:DN3~DN100 精度等级:±4%~±1.5% 测量锥管材质:硬质玻璃 浮子材质:不锈钢、玛瑙、氟包塑、316等 连接方式:软管、法兰、快速接头等 介质温度:0~120℃ 公称压力:0.4Mpa~0.9 Mpa 量程比:1:10、1:5 |
![]() |


免责声明:以上所展示的[ ZX-LZB玻璃转子流量计]信息由会员[江苏金湖正兴仪表有限公司]自行提供,内容的真实性、准确性和合法性由发布会员负责。